EasyManua.ls Logo

Kyocera KM-2540 - Checking the Result of Receptions

Kyocera KM-2540
208 pages
To Next Page IconTo Next Page
To Next Page IconTo Next Page
To Previous Page IconTo Previous Page
To Previous Page IconTo Previous Page
Loading...
Managing Information About Your Fax Communications 5-3
4 Pressing the [S] cursor key will display the next previous
transmission and pressing the [T] cursor key will change the display
back towards the most recent transmission. Once you have finished
checking the desired information, press the [Close] key. The touch
panel will return to displaying the list of transmissions.
5 Once you have finished checking the desired information, press the
Reset key to return to the initial mode.
Checking the Result of Receptions
Information for up to 50 of the most recent fax receptions can be
checked in the message display.
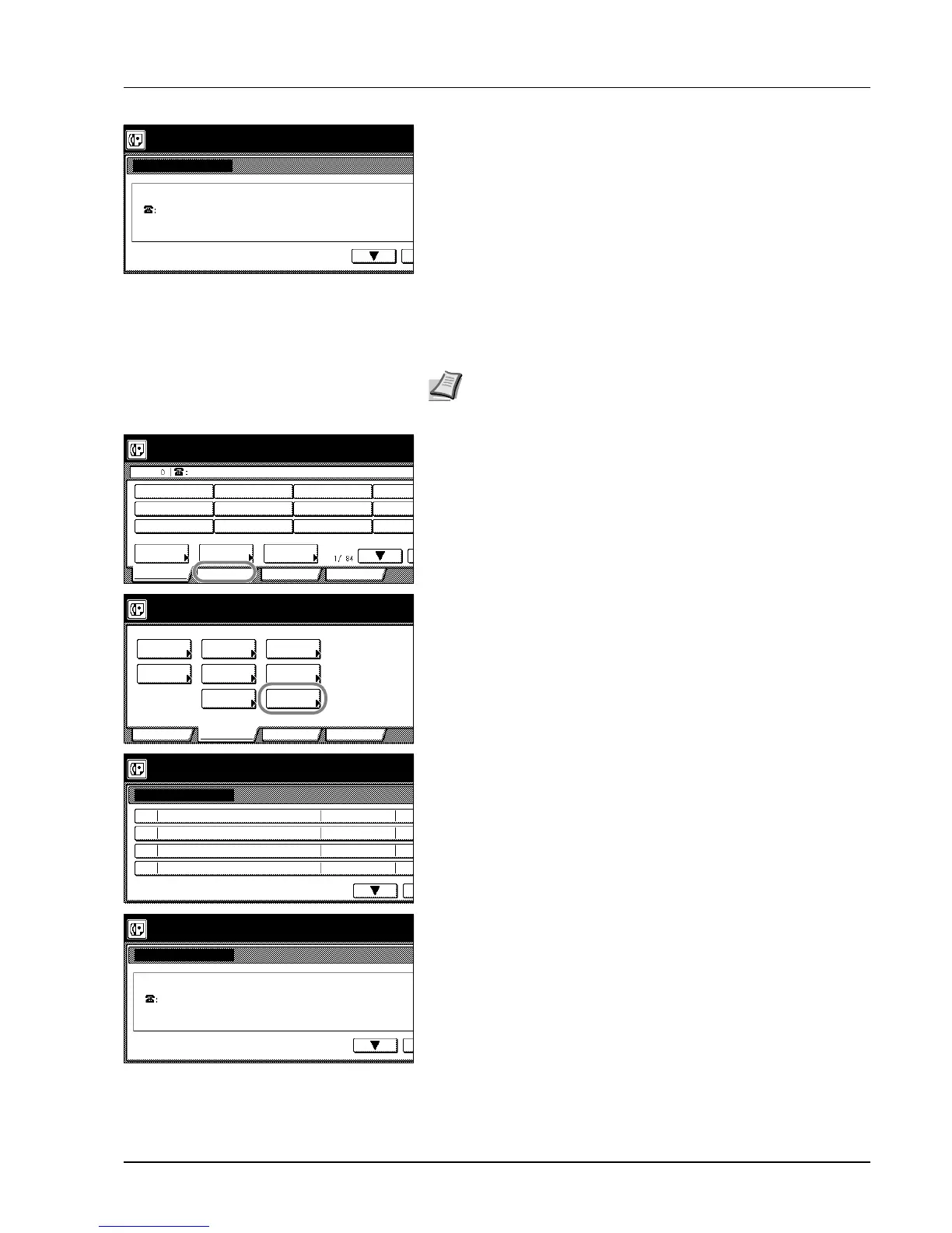
1 Press the [Application] key. The Application screen will appear.
2 Press the [RX result on LCD] ([Rx result display]) key. The most
recent receptions will be displayed in a list.
3 If 5 or more receptions have taken place, press the [S] cursor key or
the [T] cursor key to scroll up and down through those receptions.
To verify even more detailed information for a particular reception,
select the desired reception and press the [Details] key.
4 Pressing the [S] cursor key will display the next previous reception
and pressing the [T] cursor key will change the display back
towards the most recent reception. Once you have finished checking
the desired information, press the [Close] key. The touch panel will
return to displaying the list of receptions.
5 Once you have finished checking the desired information, press the
Reset key to return to the initial mode.
03.
Contents confirmation
TX result on LCD.
Doc #:
1/9.
Send
OCT-10 TX No.of pages: Result: STOP000.16:19.
024.
Note If you want to cancel the procedure part way through, press
the Reset key. The touch panel will return to the initial mode
settings.
Place the original & assign destination.
Dest
Ready for fax transmission.
Basic Application
Abbrev.
TXAddress
Register
settingbook
Print Report
RX Polling
TX Polling
Basic Application Register
box input
Sub.conf.
TX status
Reserved
on LCD
TX result
on LCD
RX result
data box
Print encr
box output
Sub.conf.
Print Report
Option screen
Select item.
028.
Contents confirmation
Rx report on display.
OCT-10 17:32
023.
022.
018.
Service center
OCT-10 15:50
OCT-10 15:47
OCT-10 14:27
OK
OK
STO
P
OK
Service center
Service center
Service center
Service center
Contents confirmation
Rx report on display.
Doc #:
1/9.
Encryption RX
OCT-10 RX No.of pages: Result: OK001.17:32.
028.

Table of Contents

Other manuals for Kyocera KM-2540

Related product manuals