EasyManua.ls Logo

MacDon R216 SP - Removing Accelerators

MacDon R216 SP
184 pages
Print Icon
To Next Page IconTo Next Page
To Next Page IconTo Next Page
To Previous Page IconTo Previous Page
To Previous Page IconTo Previous Page
Loading...
214880 94 Revision A
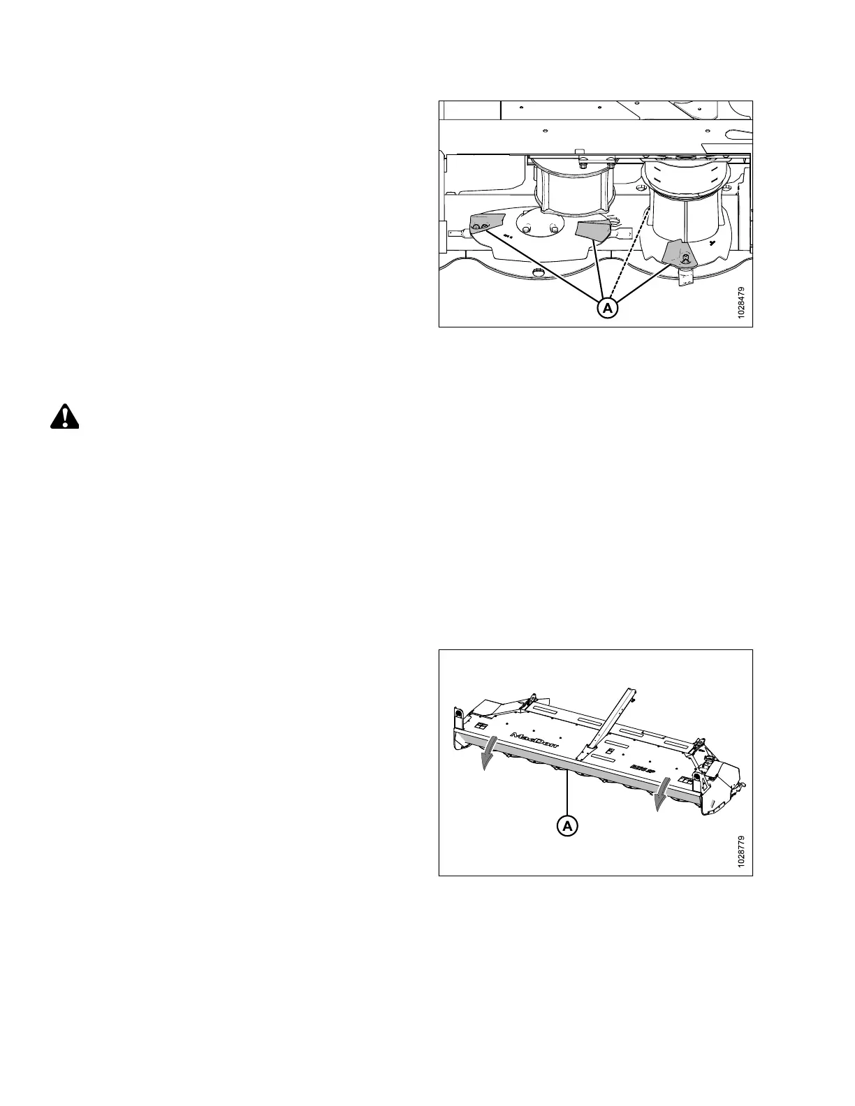
Figure 4.56: Accelerators
5. Inspect accelerators (A) for damage and wear, and replace
if worn to 50% or more of their original height or if they are
no longer effectively moving crop.
6. Tighten or replace loose and missing fasteners.
Removing Accelerators
CAUTION
Discblades have two sharp cutting edges that can cause serious injury. Exercise caution and wear gloves when working
with blades.
IMPORTANT:
Always replace accelerators in pairs to ensure proper disc balance.
1. Raise the header fully.
2. Shut off the engine, and remove the key from the ignition.
3. Engage windrower lift cylinder safety props. Refer to 3.3.1 Engaging and Disengaging Header Safety Props M1240
Windrower, page 22.
Figure 4.57: R216 SP
4. Open cutterbar curtain (A). Refer to 3.7.1 Opening
Cutterbar Curtain, page 42.
MAINTENANCE AND SERVICING

Table of Contents

Related product manuals