EasyManua.ls Logo

Maeda CC1485S-1 - Page 20

Maeda CC1485S-1
370 pages
Print Icon
To Next Page IconTo Next Page
To Next Page IconTo Next Page
To Previous Page IconTo Previous Page
To Previous Page IconTo Previous Page
Loading...
12
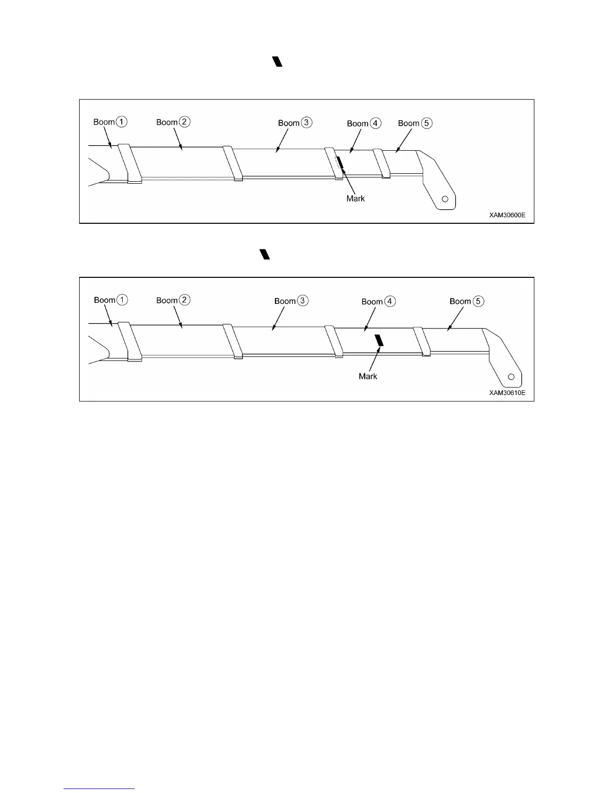
4. "13.385 m boom (4)": Booms (2) and (3) are fully extended, while booms (4) and (5) are
extended to an intermediate length ( mark) is exposed half way from boom (3).
If booms (4) and (5) are extended even to a small extent, perform the work in the capacity
indicated in this column.
5. "16.265 m boom (5)": All the booms are fully extended.
When more than one-half of the " mark" of boom (4) is exposed from boom (3), perform
the work within the capacity indicated in this column.

Table of Contents

Other manuals for Maeda CC1485S-1

Related product manuals