EasyManua.ls Logo

Omron ACCURAX G5 - Setting the Mode; Changing the Mode

Omron ACCURAX G5
553 pages
To Next Page IconTo Next Page
To Next Page IconTo Next Page
To Previous Page IconTo Previous Page
To Previous Page IconTo Previous Page
Loading...
9-8
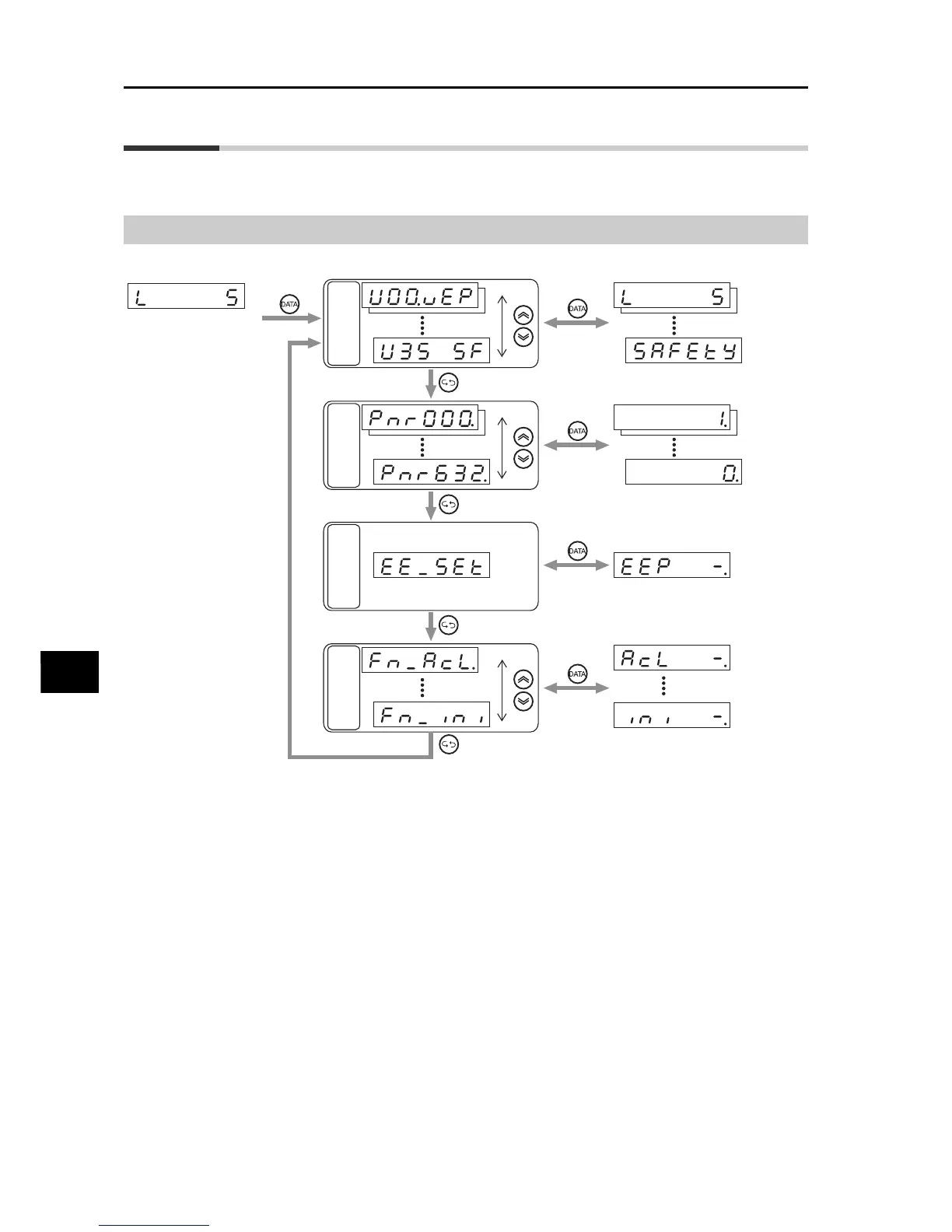
9-4 Setting the Mode
Accurax G5 AC SERVOMOTOR AND SERVO DRIVE USER'S MANUAL
9
Operation
9-4 Setting the Mode
Changing the Mode
*1. The display will be based on the Default Display (Pn528) setting after the power supply is turned ON.
Front panel
default display
*1
Monitor
Parameter
setting
Auxiliary
function
Parameter
write

Table of Contents

Other manuals for Omron ACCURAX G5