EasyManua.ls Logo

Sel 551 - Page 159

Sel 551
268 pages
Print Icon
To Next Page IconTo Next Page
To Next Page IconTo Next Page
To Previous Page IconTo Previous Page
To Previous Page IconTo Previous Page
Loading...
6.13
Date Code 20110408 Instruction Manual SEL-551 Relay
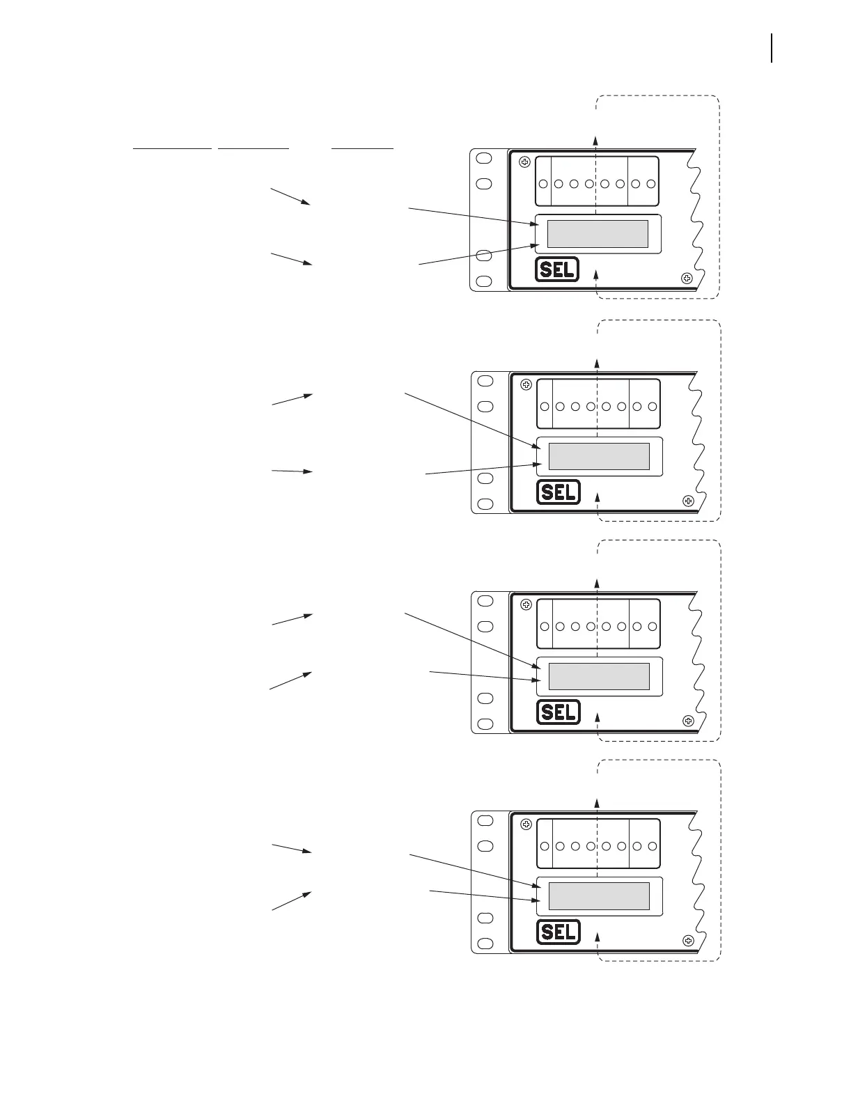
Front-Panel Interface
Rotating Default Display
Display Points
(SEL
OGIC
Control
Equation Settings)
Example Display
Point States
Display Point
Label Settings
DP2 = LB1
= logical 0
DP2_1 = 79 ENABLED
DP2_0 = 79 DISABLED
DP4_1 = BREAKER CLOSED
DP4_0 = BREAKER OPEN
DP4 = IN1 = logical 0
79 DISABLED
BREAKER OPEN
Press CNTRL for
Local Control
DP2 = LB1 = logical 1
DP2_1 = 79 ENABLED
DP2_0 = 79 DISABLED
DP4_1 = BREAKER CLOSED
DP4_0 = BREAKER OPEN
DP4 = IN1 = logical 0
SCHWEITZER ENGINEE
PULLMAN WASHINGTON USA
FAULT TYPE
A
INSTEN BCNRSLO
79
79 ENABLED
BREAKER OPEN
Press CNTRL for
Local Control
SCHWEITZER ENGINEE
PULLMAN WASHINGTON USA
FAULT TYPE
A
INSTEN BCNRSLO
79
DP2 = LB1 = logical 1
DP2_1 = 79 ENABLED
DP2_0 = 79 DISABLED
DP4_1 = BREAKER CLOSED
DP4_0 = BREAKER OPEN
DP4 = IN1 = logical 1
79 ENABLED
BREAKER CLOSED
Press CNTRL for
Local Control
SCHWEITZER ENGINEE
PULLMAN WASHINGTON USA
FAULT TYPE
A
INSTEN BCNRSLO
79
DP2 = LB1 = logical 0
DP2_1 = 79 ENABLED
DP2_0 = 79 DISABLED
DP4_1 = BREAKER CLOSED
DP4_0 = BREAKER OPEN
DP4 = IN1 = logical 1
79 DISABLED
BREAKER CLOSED
Press CNTRL for
Local Control
SCHWEITZER ENGINEE
PULLMAN WASHINGTON USA
FAULT TYPE
A
INSTEN BCNRSLO
79

Table of Contents

Related product manuals