EasyManua.ls Logo

Siemens CP-8000

Siemens CP-8000
614 pages
To Next Page IconTo Next Page
To Next Page IconTo Next Page
To Previous Page IconTo Previous Page
To Previous Page IconTo Previous Page
Loading...
Engineering via SICAM WEB
SICAM A8000 / CP-8000 • CP-8021 • CP-8022 Manual Unrestricted 431
DC8-037-2.02, Edition 10.2017
Example:
PLC_RESET:
LD 1
ST PLC_SINGLE (*set single run*)
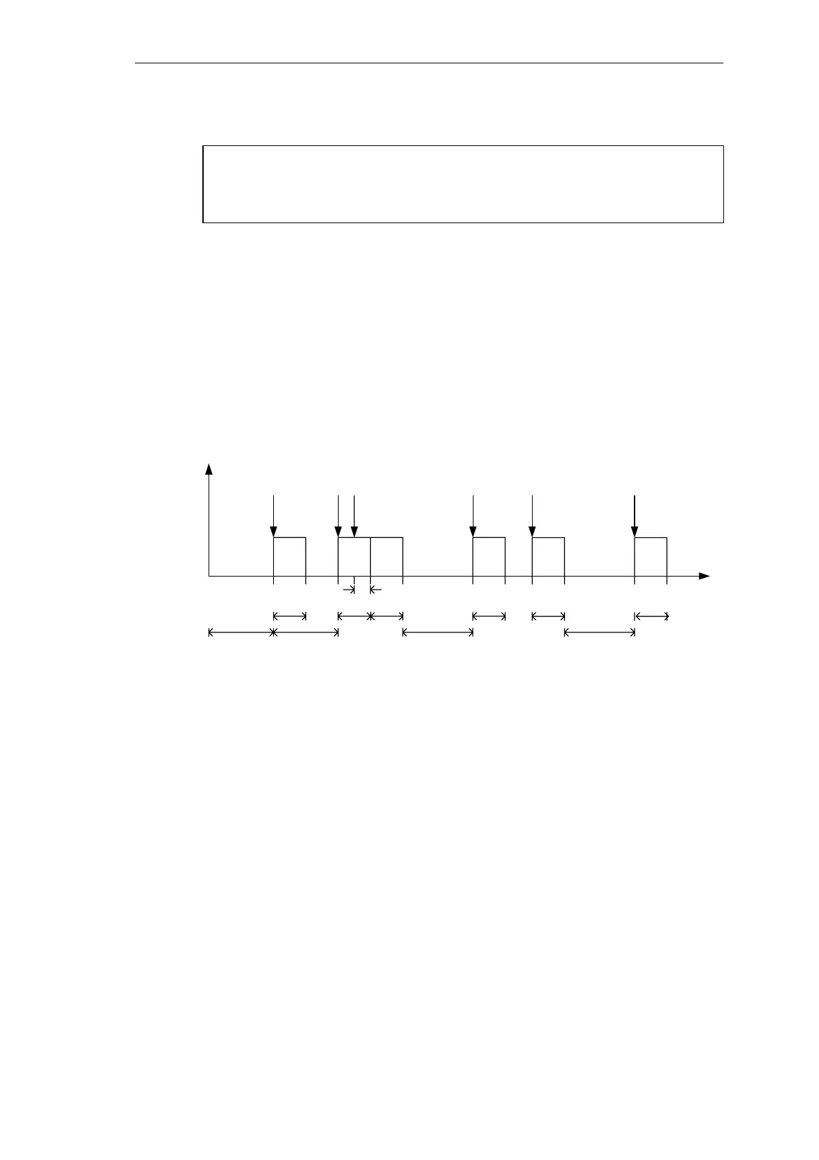
With a spontaneous program execution the entire application program is processed one time.
If an event occurs, the spontaneous program execution is first started after the current pro-
gram execution has completed (the application program cannot interrupt itself). The reaction
time can therefore be delayed accordingly.
If several events occur at the same time or one after the other just when the application pro-
gram is running, then the states are temporarily stored in a ring and processed chronologically
with the next spontaneous program execution. The same is also valid if a data point changes
its state several times (transient storage).
Example:
Event occurs during a cyclic program execution (S1).
Event occurs during a pause (S2).
At the end of each spontaneous pass the cyclic pass is retriggered around the set cycle time.
In this case no exceeding of the cycle time is signaled.
As long as the events occur in a time-scale that is smaller than the cycle time, only spontane-
ous program passes take place. If the cycle time is set to 0 and the spontaneous program ex-
ecution to 1, then only spontaneous program passes take place.
You find further details in the manual SICAM RTUs Common Functions System and Basic
System Elements, chapter "Automation", section "Restricted Open-/Closed-Loop Control
Function", "Internal Signal Processing".
S
1
S
2
t
C C C C
C cycling processing
S spontaneous processing
t
P
processing time
t
D
delay time
t
C
cycle time
t
C
t
C
t
C
t
C
t
P
t
P
t
P
t
P
t
P
t
P
t
D

Table of Contents

Other manuals for Siemens CP-8000

Related product manuals