EasyManua.ls Logo

SPM T30 - Measuring Vibration

Default Icon
82 pages
Print Icon
To Next Page IconTo Next Page
To Next Page IconTo Next Page
To Previous Page IconTo Previous Page
To Previous Page IconTo Previous Page
Loading...
Technical data are subject to change without notice.
© Copyright SPM 2002-04. 71650.B
SPM Instrument AB Box 504 S-645 25 Strängnäs Sweden
Tel +46 152 225 00 Fax +46 152 15075 info@spminstrument.se www.spminstrument.se
Measuring vibration
If a fan is out of balance, it will shake at its speed of rotation, i.e. move backwards and forwards
once per revolution. The number of vibrations per time unit is the vibration frequency, measured in
Hz (Hertz = cycles per second). The rotational speed of any piece of plant is known as its
fundamental frequency. For a fan with a speed of 1500 rpm, the fundamental frequency is 25 Hz
(1500 rpm / 60 seconds).
In practice, machine vibration usually consists of many different frequency components. For a
general assessment of machine condition one uses wide frequency band measurements, that is
all vibrations within a large frequency range are measured simultaneously.
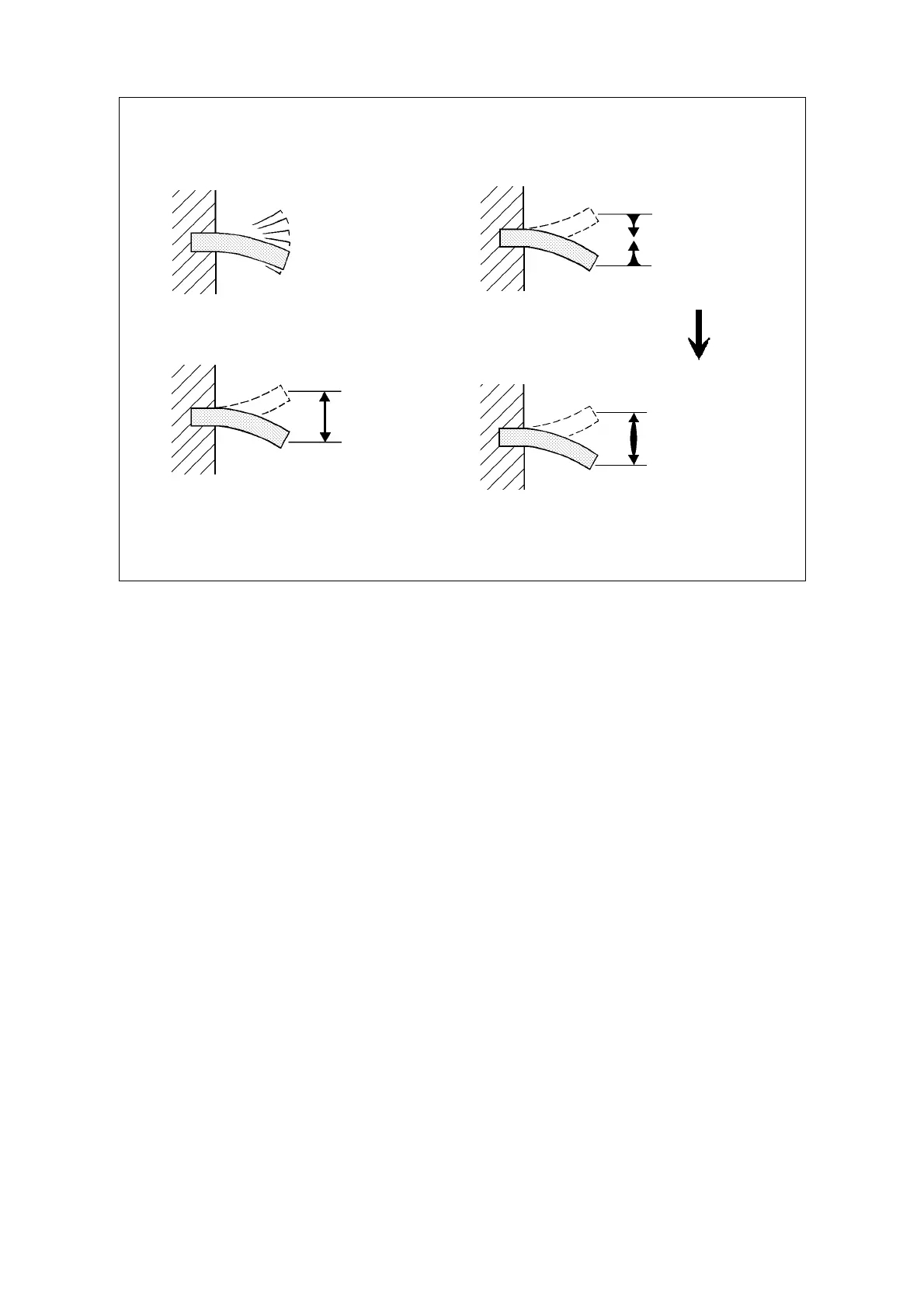
Cyclic movement can be measured and described in three different ways, as displacement,
acceleration, or velocity. Displacement means the actual distance the object moves, usually
measured in mm. A part that is moving from rest, speeding up, slowing down and stopping twice
per cycle is accelerating and decelerating continuously. Acceleration is measured in g (1 g = 9.81
m/s
2
).
The third measuring parameter is the speed at which the object moves, the vibration velocity.
Velocity is expressed in mm/s (in/s when imperial units are used). Both acceleration and speed are
constantly changing. One can measure a peak value of either, but a mean value often gives a better
indication of the forces involved in the movement. Most instruments measure the RMS value (root
mean square value) of the movement.
Experience has shown, that the RMS level of vibration velocity, measured over a frequency range
of 3 to 1000 Hz, is most useful for general assessment of machine condition. The technical term
used is vibration severity, defined as above and displayed in mm/s (or in/s) on the instrument.
Vibration severity is directly related to the energy level of machine vibration, and thus a good
indicator of the destructive forces acting on the machine.
Acceleration
mm / s
2
Velocity
mm / s
Frequency
Hz
+
Amplitude
mm
Measuring vibration 43

Table of Contents

Related product manuals