EasyManua.ls Logo

Yamaha F100A - Page 112

Yamaha F100A
463 pages
Print Icon
To Next Page IconTo Next Page
To Next Page IconTo Next Page
To Previous Page IconTo Previous Page
To Previous Page IconTo Previous Page
Loading...
4-4
E
FUEL
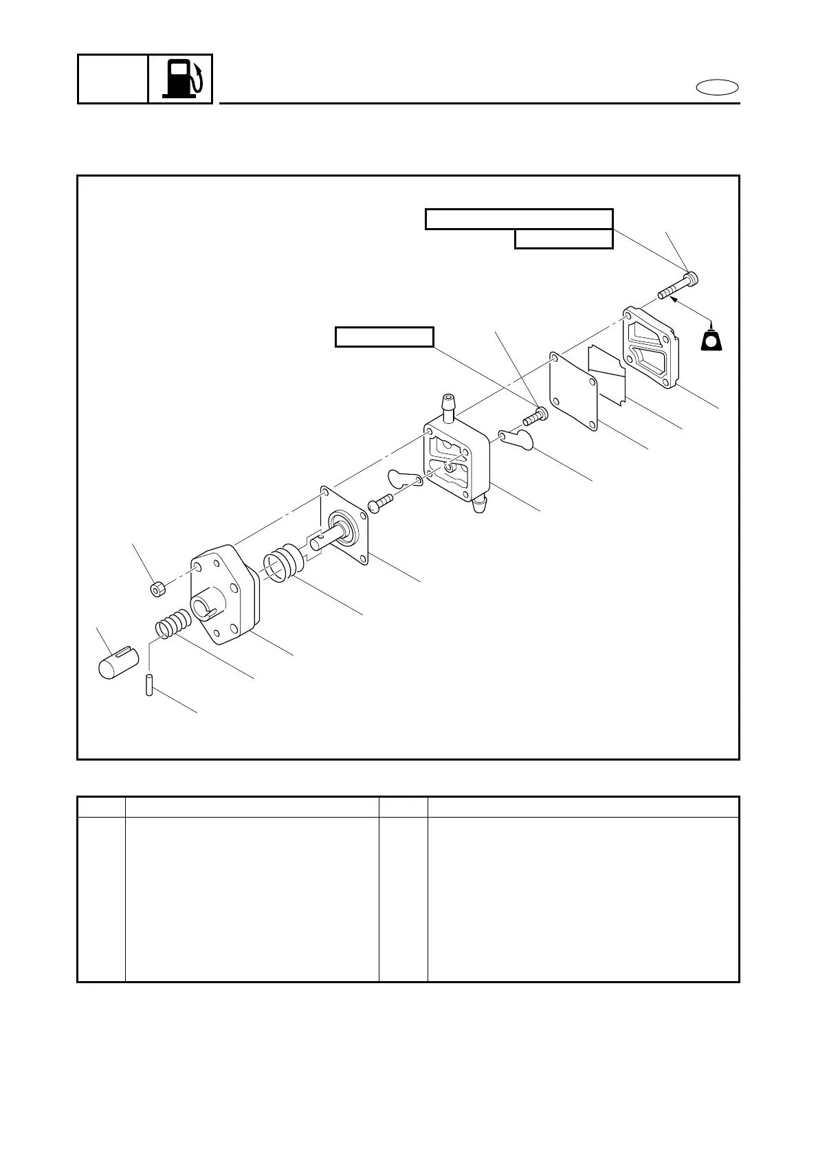
FUEL PUMPS
EXPLODED DIAGRAM
REMOVAL AND INSTALLATION CHART
Step Procedure/Part name Q’ty Service points
FUEL PUMP DISASSEMBLY
Follow the left “Step” for removal.
1 Screw 4
2 Nut 4
3 Fuel pump cover 1
4 Gasket 1
5 Diaphragm 1
6 Fuel pump body 1
7 Screw 2
3 Nm (0.3 m
kg, 2.2 ft
Ib)
5 × 35 mm
4 × 8 mm
1
2
3
4
5
6
7
8
9
10
11
12
13
14
LT
LT
572572

Table of Contents

Other manuals for Yamaha F100A

Related product manuals