EasyManua.ls Logo

Yamaha F100A - Valves Exploded Diagram

Yamaha F100A
463 pages
Print Icon
To Next Page IconTo Next Page
To Next Page IconTo Next Page
To Previous Page IconTo Previous Page
To Previous Page IconTo Previous Page
Loading...
5-25
E
POWR
VALVES
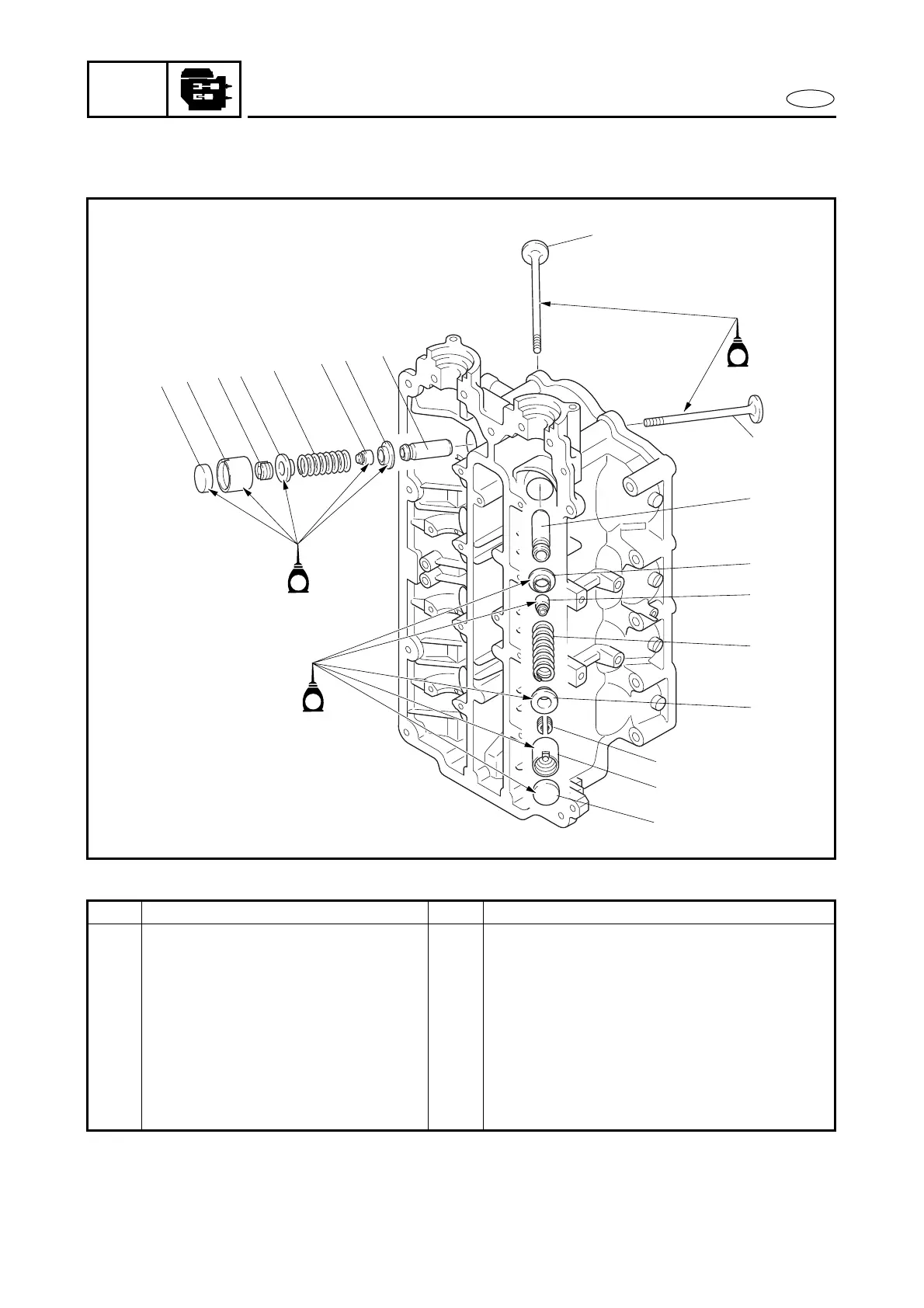
VALVES
EXPLODED DIAGRAM
8
9
8
7
6
5
4
3
2
1
10
7
6
5
4
3
2
1
E
E
E
REMOVAL AND INSTALLATION CHART
Step Procedure/Part name Q’ty Service points
VALVE REMOVAL Follow the left “Step” for removal.
Camshafts and cylinder head
assy.
Refer to “CAMSHAFTS” and “CYLINDER
HEAD ASSY.”.
1 Valve pad 16
2 Valve lifter 16
3 Valve cotter 32
4 Spring retainer 16
5 Valve spring 16
6 Valve stem seal 16

Table of Contents

Other manuals for Yamaha F100A

Related product manuals