EasyManua.ls Logo

YASKAWA FS100 - Mulmat

YASKAWA FS100
246 pages
To Next Page IconTo Next Page
To Next Page IconTo Next Page
To Previous Page IconTo Previous Page
To Previous Page IconTo Previous Page
Loading...
2 INFORM Explanation
FS100 2.3 Operating Instruction : MULMAT
2-148
MULMAT
Calculates the matrix multiplication of Data 2 and Data 3, and stores the
result in Data 1.
MULMAT <Data 1> <Data 2> <Data 3>
1. P Variable number/LP Variable number/P [Array
number]/LP [Array number]
Add the following tag.
2. P Variable number/LP Variable number/P [Array
number]/LP [Array number]
Add the following tag.
SUBSET STANDARD EXPANDED
Not available Available Available
Function
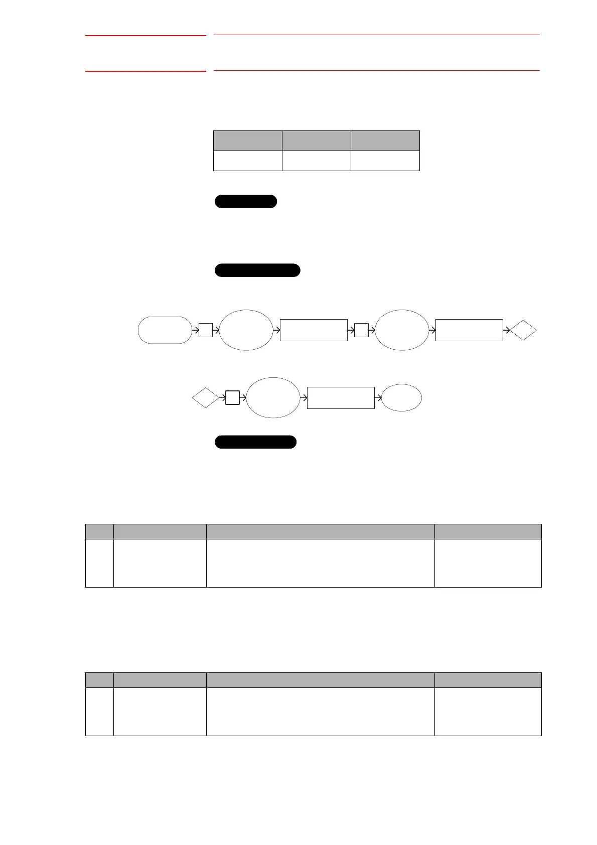
Construction
P/LP/P[]/
LP[]
Variable No.Variable No.
MULMAT
END
1 2
3
A
A
P/LP/P[]/
LP[]
Variable No.
P/LP/P[]/
LP[]
Explanation
No. Tag Explanation Note
1 P Variable number/
LP Variable number/
P [Array number]/
LP [Array number]
Specifies the number of the position type variable to
store the result.
<Data 1>
No. Tag Explanation Note
2 P Variable number/
LP Variable number/
P [Array number]/
LP [Array number]
Specifies the number of the position type variable for
which the matrix multiplication is calculated.
<Data 2>

Other manuals for YASKAWA FS100

Related product manuals