EasyManua.ls Logo

YASKAWA FS100 - 8.9.1.1 Changing the Monitor Items

YASKAWA FS100
246 pages
To Next Page IconTo Next Page
To Next Page IconTo Next Page
To Previous Page IconTo Previous Page
To Previous Page IconTo Previous Page
Loading...
2 INFORM Explanation
FS100 2.2 Control Instruction : ABORT
2-62
ABORT
Suspends playback, and shows “Robot is stopped by execution ABORT
command.” on the human interface display area.
After the playback is suspended by ABORT instruction, it will not restart
until the job is reselected on the JOB SELECT window.
1. IF
The following tag can be added or omitted.
(1) ABORT
Stops the playback of job, and displays the message “Robot is
stopped by execution ABORT command.”
(2) ABORT IF B000=1
Stops the playback of job when B000 is 1, and displays the mes-
sage “Robot is stopped by execution ABORT command.”
SUBSET STANDARD EXPANDED
Not available Available Available
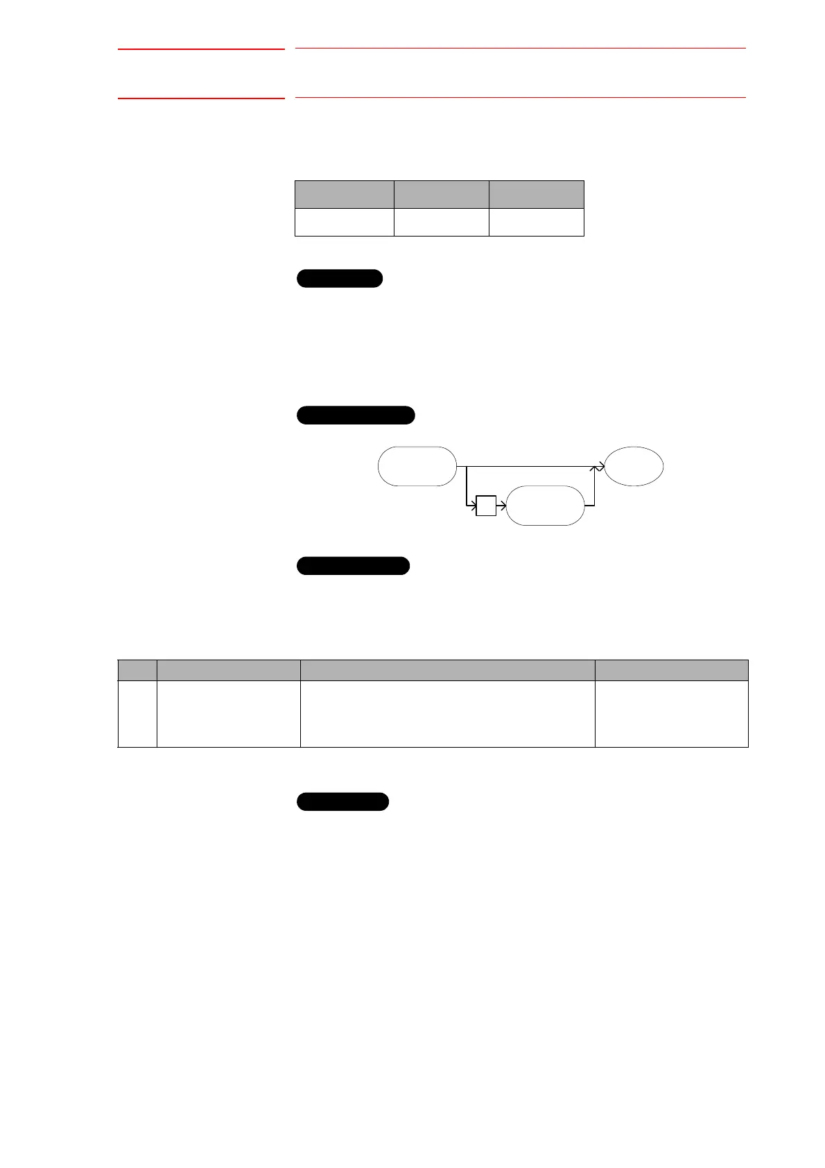
Function
Construction
ABORT
IF
END
1
Explanation
No Tag Explanation Note
1 IF Specifies the IF instruction. Refer to chapter 2.6
“Instruction Which
Adheres to an Instruction”
at page 2-208.
Example

Other manuals for YASKAWA FS100

Related product manuals