EasyManua.ls Logo

YASKAWA FS100 - Getreg

YASKAWA FS100
246 pages
To Next Page IconTo Next Page
To Next Page IconTo Next Page
To Previous Page IconTo Previous Page
To Previous Page IconTo Previous Page
Loading...
2 INFORM Explanation
FS100 2.3 Operating Instruction : GETREG
2-154
GETREG
Copies the specified register data into the integer type variable.
1. I Variable number/LI Variable number/I [Array num-
ber]/LI [Array number]
2. MREG# (Register number).
3. LOW/HIGH
SUBSET STANDARD EXPANDED
Not available Available Available
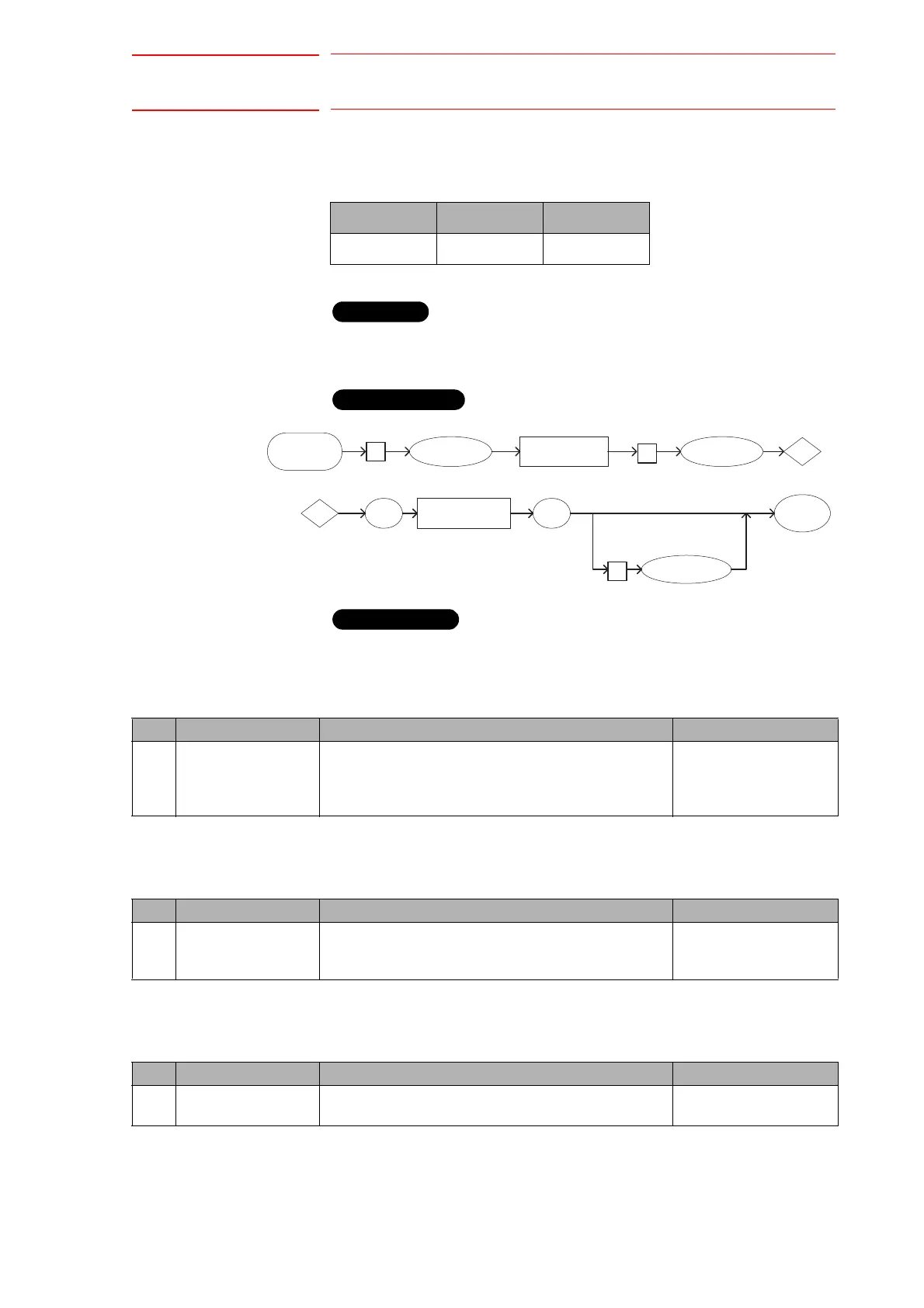
Function
Construction
I/LI/I[]/LI[]
Variable No.
GETREG
1
LOW/HIGH
2
3
( )
A
Register No.
A END
MREG#
Explanation
No. Tag Explanation Note
1 I Variable number/
LI Variable number/
I [Array number]/
LI [Array number]
Specifies the number of the integer type variable to
save the register data.
No. Tag Explanation Note
2 MREG# (Register
number)
Specifies the desired register number to be saved into
the integer type variable.
No.: 0 to 999
Variable B/I/D/LB/LI/LD
can be used.
No. Tag Explanation Note
3 LOW/HIGH Specifies when saving the lower/higher 8 bits out of 16
bits register.

Other manuals for YASKAWA FS100

Related product manuals