EasyManua.ls Logo

YASKAWA FS100 - 6 Recommended Spare Parts; 6.1 List of Accessories

YASKAWA FS100
246 pages
To Next Page IconTo Next Page
To Next Page IconTo Next Page
To Previous Page IconTo Previous Page
To Previous Page IconTo Previous Page
Loading...
2 INFORM Explanation
FS100 2.1 I/O Instructions : ARATION
2-15
ARATION
Starts the analog output corresponding to the speed.
ARATION is valid during linear interpolation, circular interpolation, and
spline interpolation. ARTION is carried out during playback or FWD
operation, but not while operating an axis.
1. AO# (Analog output port number)
Add the following tag.
2. BV=Basic voltage
The following tag can be added or omitted.
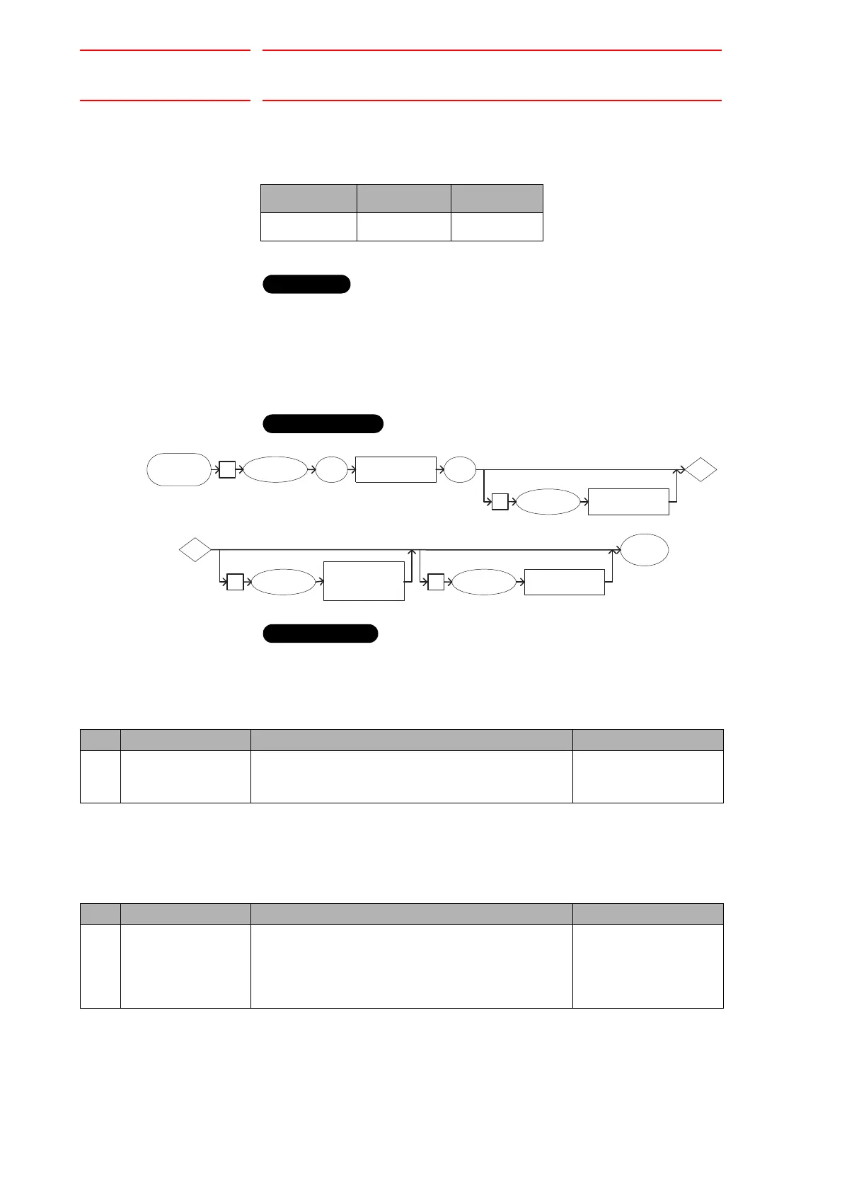
SUBSET STANDARD EXPANDED
Not available Available Available
Function
Construction
ARATION
AO#
(
Analog output
port No.
)
END
A
A
V=
Speed at TCP
(mm/sec.)
BV=
Basic voltage
(V)
OFV=
Offset voltage
(V)
1
2
3 4
Explanation
No. Tag Explanation Note
1 AO# (Analog output
port number)
Specifies the number of the analog output port that
outputs the voltage corresponding to the speed.
No.: 1 to 40
Variable B/I/D/LB/LI/LD
can be used.
No. Tag Explanation Note
2 BV=Basic voltage Specifies the voltage to be output when running at the
speed set in part 3 of this Explanation.
Voltage value:
-10.00 to +10.00 V
Variable I/LI/I[]/LI[] can
be used.
(Units: 0.01 V)

Other manuals for YASKAWA FS100

Related product manuals