EasyManua.ls Logo

Barrett 2050 - ALE Configuration Menus; ALE State

Barrett 2050
285 pages
Print Icon
To Next Page IconTo Next Page
To Next Page IconTo Next Page
To Previous Page IconTo Previous Page
To Previous Page IconTo Previous Page
Loading...
202 of 285
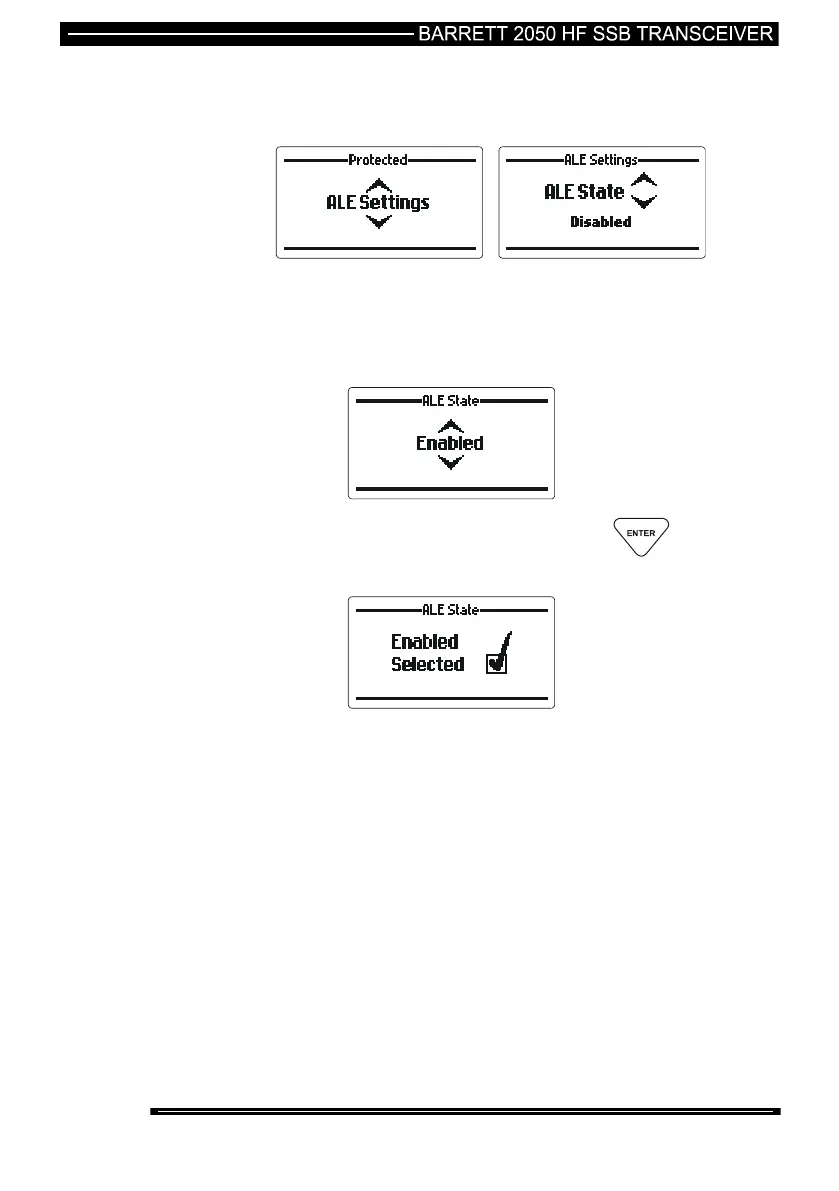
ALE Configuration Menus
ALE State
This feature enables or disables the ALE system
Use the Scroll keys to select the setting required (example “ALE
Enabled”):-
When the setting required is selected press the key

Table of Contents

Other manuals for Barrett 2050

Related product manuals