EasyManua.ls Logo

Beechcraft Bonanza E33 - Page 152

Beechcraft Bonanza E33
342 pages
Print Icon
To Next Page IconTo Next Page
To Next Page IconTo Next Page
To Previous Page IconTo Previous Page
To Previous Page IconTo Previous Page
Loading...
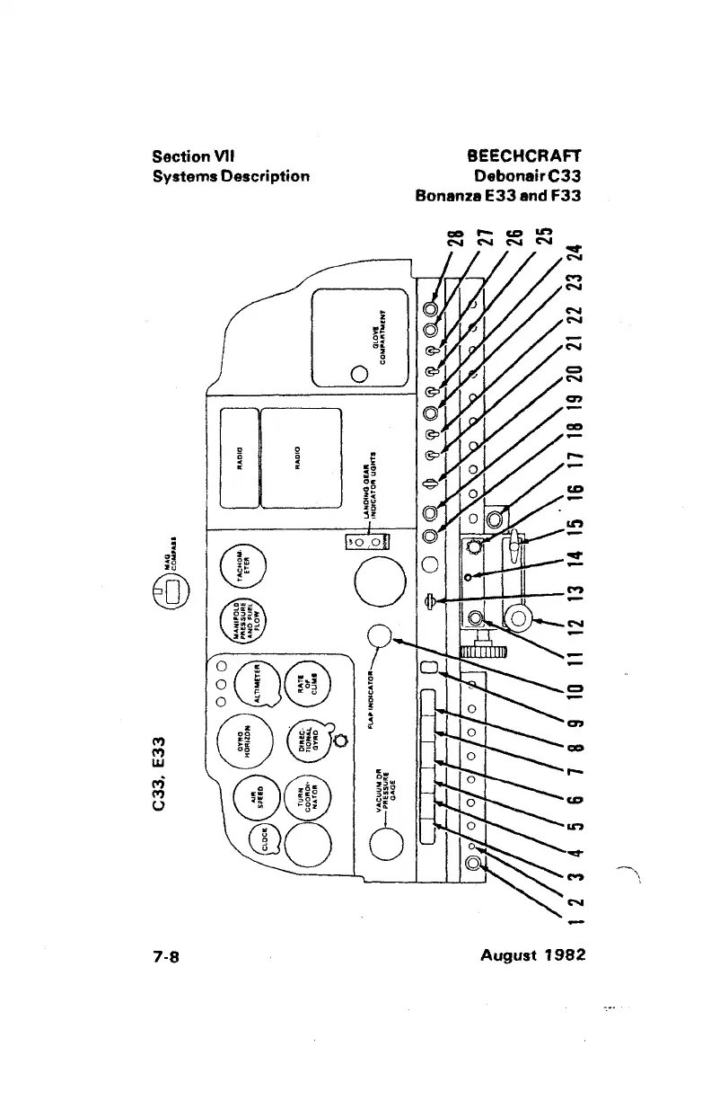
VII
Sect1on
ption
Systems Descri
M
M
w
C"i
M
u
7-8
BEECHCRAFT
Debonair
C33
EJ3andF33
Bonanza
August
1982

Table of Contents

Related product manuals