EasyManua.ls Logo

Beechcraft Bonanza E33 - Page 339

Beechcraft Bonanza E33
342 pages
Print Icon
To Next Page IconTo Next Page
To Next Page IconTo Next Page
To Previous Page IconTo Previous Page
To Previous Page IconTo Previous Page
Loading...
)>
c
cc
c
"'
...
Q)
N
-:.i
N
OI
'Tl
c:
m
~
C/)
-<
Cl)
.....
m
i:
C/)
("')
::c
m
i:
~
("')
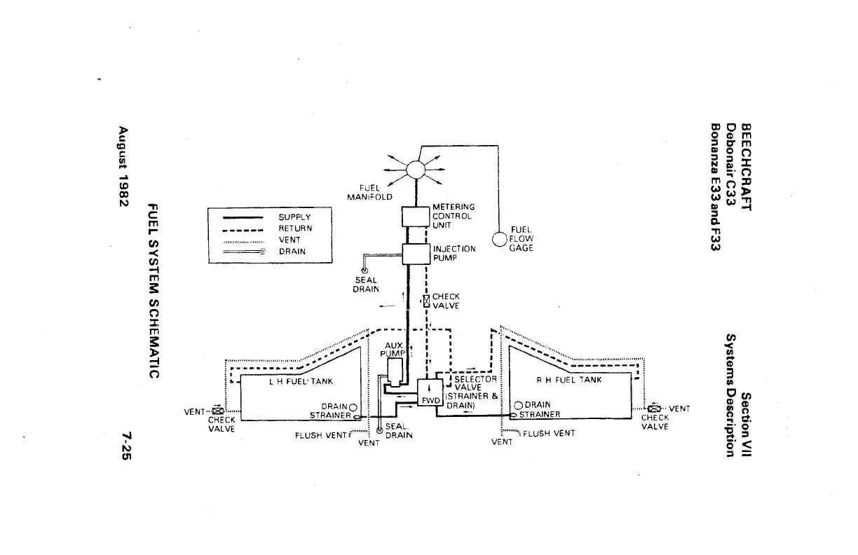
SUPPLY
RETURN
VENT
-
i!l
DRAIN
SEAL
DRAIN
1
1
1
1
1
~CHECK
1
VALVE
1
FUEL
FLOW
GAGE
,.ot
••••••.
••
.....
~·····
r;·::·==:~==·~;;~T
1
1
L~_1
r:::::::~::-::~==::1
i L H
FUEL'
TANK i 1
SELECTOR
[ R H
FUEL
TANK - l
! i +
"'VALVE
! l
i i
(STRAINER
& ! i
- i
DRAINQ
!
FWD
DRAIN)
i
QDRAIN
! -
VENT
.„IBJ.'""" ' - :
""'"®"VENT
CHECK
STRAINER
~
,
STRAINER
CHECK
VALVE
l SEAL l VALVE
FLUSH VENT!'""""! DRAIN
r"""'\FLUSH
VENT
VENT
VENT
DJ
C
CD
0
CD
m
::1
.,.
m
III 0 ("')
~
;
:c
III
:;·
("')
m
("'):xi
w w
)>
~
w
:!!
::i
Q.
'Tl
w
w
Cl)
~
~
fll
c
Cl)
CD
CD
g,g.
"g
::1
....
<
0 -
::i
-

Table of Contents

Related product manuals