EasyManua.ls Logo

Brother S-7300A - Thread Wiper Mechanism

Brother S-7300A
196 pages
Print Icon
To Next Page IconTo Next Page
To Next Page IconTo Next Page
To Previous Page IconTo Previous Page
To Previous Page IconTo Previous Page
Loading...
S-7300A
4. MECHANICAL DESCRIPTIONS
49
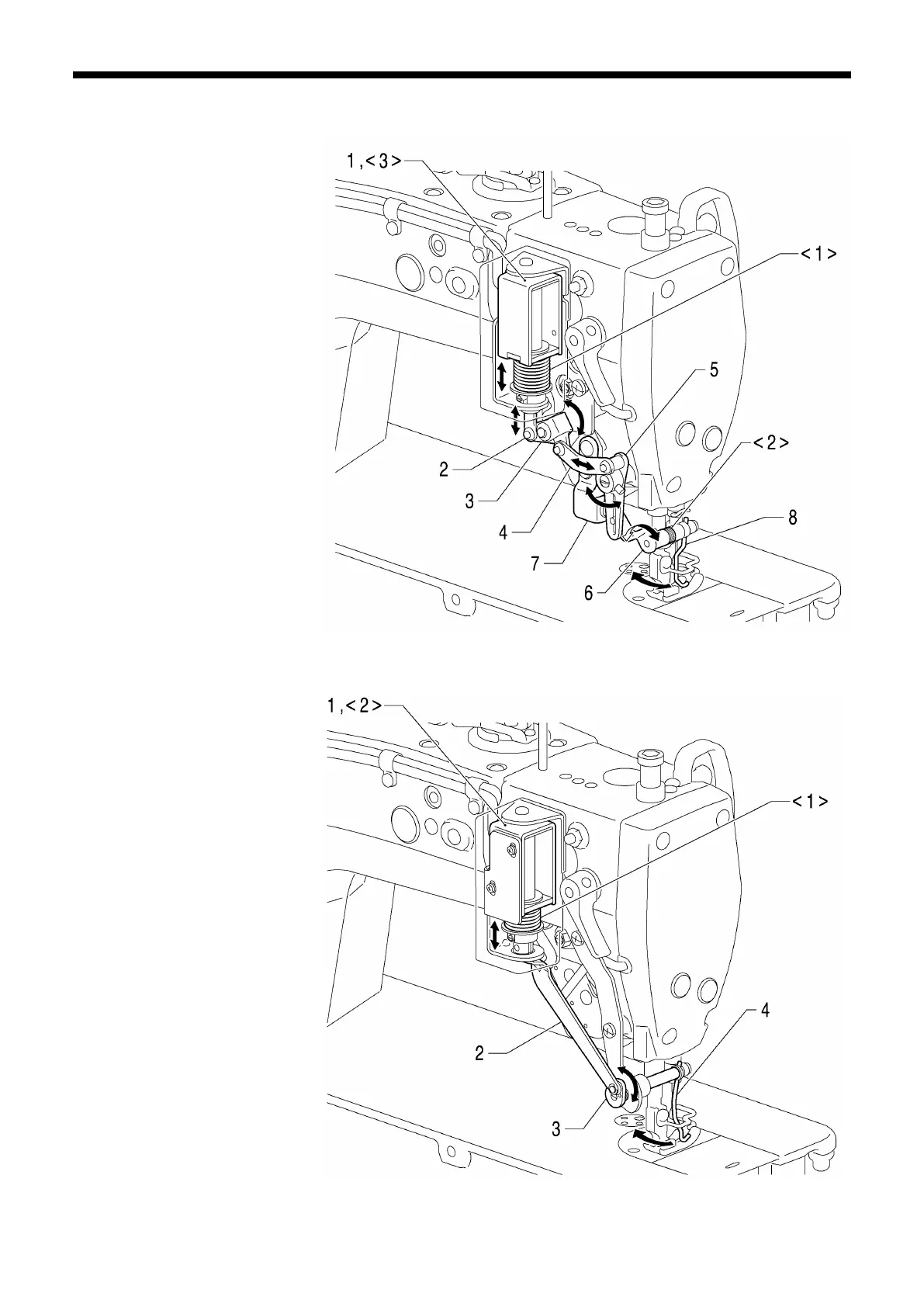
4-8. Thread wiper mechanism
R Thread wiper
Standard Thread wiper
1085D
1086D
(Thread wiper signal is input)
1. Thread wiper solenoid
2. Thread wiper link
3. Thread wiper lever A assembly
4. Thread wiper link L
5. Thread wiper lever B assembly
6. Thread wiper crank assembly
7. Lever stopper assembly
8. Thread wiper
(Thread wiper signal is turned off)
<1> Thread wiper spring
<2> Thread wiper spring
<3> Thread wiper solenoid (Returns)
(Thread wiper signal is input)
1. Thread wiper solenoid
2. Thread wiper rod
3. Thread wiper crank assembly
4. Thread wiper
(Thread wiper signal is turned off)
<1> Thread wiper spring
<2> Thread wiper solenoid (Returns)

Table of Contents

Other manuals for Brother S-7300A

Related product manuals