EasyManua.ls Logo

Brother S-7300A - Hand Switch and X-Over Seam Sensor; Cord Holder and Thread Wiper Device Assembly

Brother S-7300A
196 pages
Print Icon
To Next Page IconTo Next Page
To Next Page IconTo Next Page
To Previous Page IconTo Previous Page
To Previous Page IconTo Previous Page
Loading...
S-7300A
5. DISASSEMBLY
60
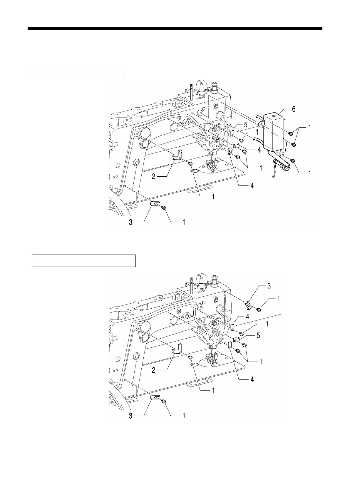
5-10. Hand switch and X-over seam sensor
5-10-1. Cord holder and Thread wiper device assembly
0998D
For specifications with thread wiper
For specifications without thread wiper
0999D
1. Screws [8 pcs]
2. Cord holder U
3. Cord holder D
4. Cord holders [2 pcs]
5. Cord holder
6. Thread wiper assembly
1. Screws [6 pcs]
2. Cord holder U
3. Cord holders D [2 pcs]
4. Cord holders [2 pcs]
5. Cord holder

Table of Contents

Other manuals for Brother S-7300A

Related product manuals