EasyManua.ls Logo

Burstner Premio - Caravan Load, Nose Weight and Axle Load

Burstner Premio
224 pages
Print Icon
To Next Page IconTo Next Page
To Next Page IconTo Next Page
To Previous Page IconTo Previous Page
To Previous Page IconTo Previous Page
Loading...
27Premio/Averso - 13/14 - Ausgabe 09/13 - 2354619 - BUE-0048-12EN
Before the journey
3
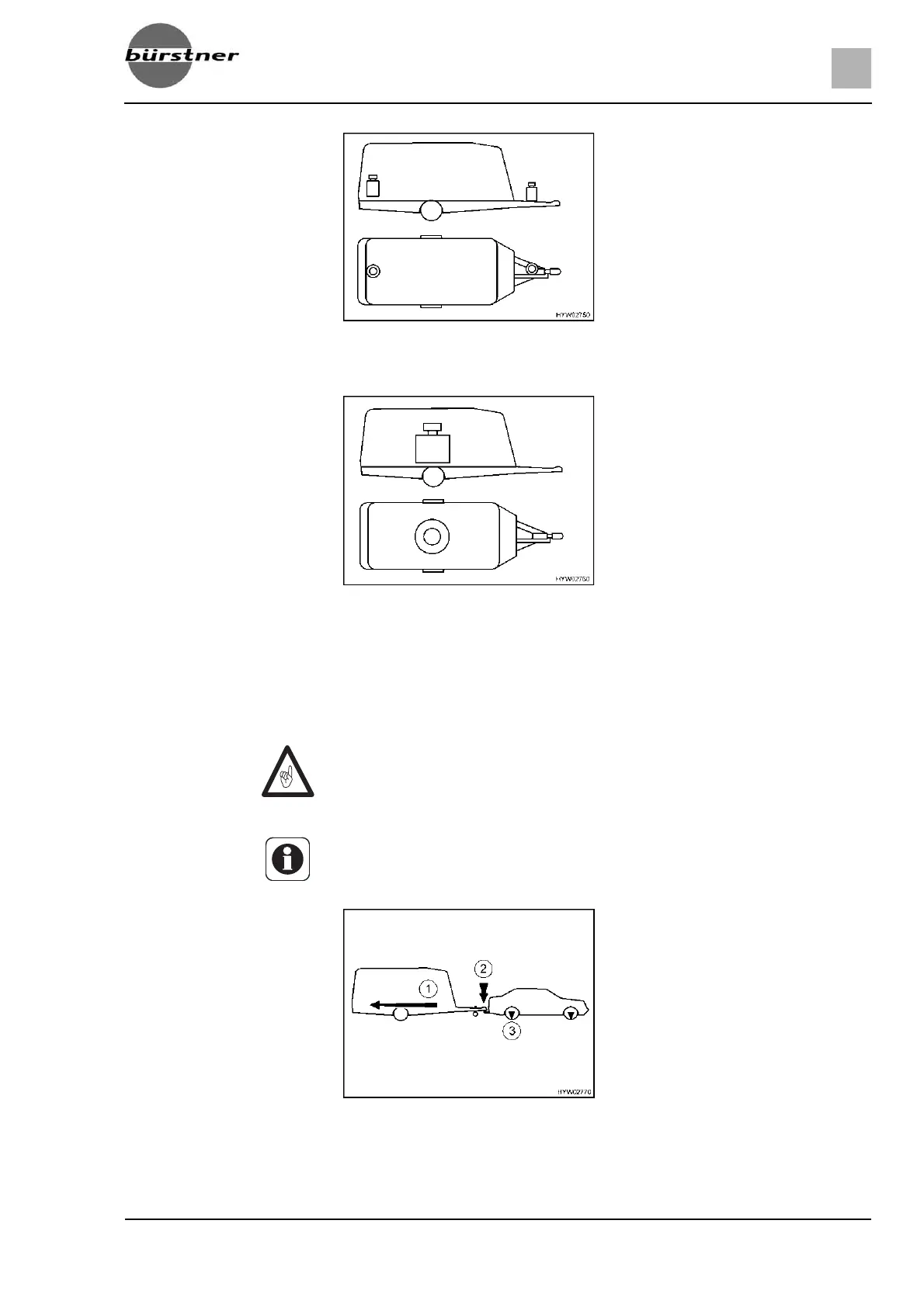
Incorrectly loaded Loads stored apart from each other (Fig. 8) lead to inclination to skid.
Correctly loaded Do not store heavy objects such as awnings, tin cans, etc. in the caravan but
rather in the towing vehicle. Secure bicycles on the roof of the towing vehicle.
Store all loads close to the axle (Fig. 9).
3.8.4 Caravan load, nose weight and axle load
Fig. 8 Incorrect weight distribution
Fig. 9 Correct weight distribution
Z The nose weight of the caravan may not exceed 100 kg.
Z The information on the towing vehicle documents is important for the selec-
tion of the car and caravan.
Fig. 10 Caravan load, nose weight and
axle load
1 Caravan load
2 Nose weight
3 Axle load

Table of Contents

Related product manuals