EasyManua.ls Logo

Case 695ST - Page 103

Case 695ST
434 pages
Print Icon
To Next Page IconTo Next Page
To Next Page IconTo Next Page
To Previous Page IconTo Previous Page
To Previous Page IconTo Previous Page
Loading...
3-CONTROLSANDINSTRUMENTS
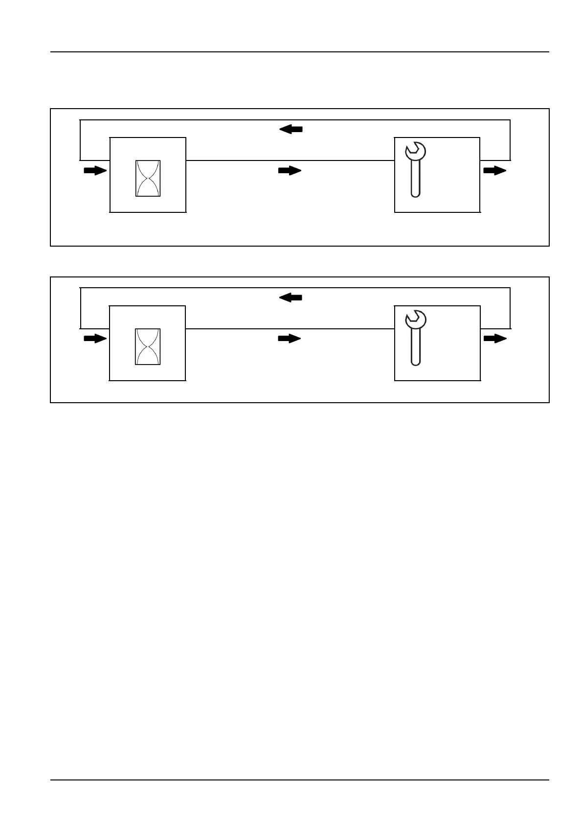
Displayfunction
Whenthehourmeterreachesthelightserviceinterval.
MAINSCREEN3Seconds
LIGHT
800.3500
AMBER
Whenthehourmeterreachestheheavyserviceinterval
MAINSCREEN3Seconds
HEAVY
800.310003seconds
3-41

Table of Contents

Other manuals for Case 695ST

Related product manuals