EasyManua.ls Logo

Condair CP3 - Page 31

Condair CP3
80 pages
Print Icon
To Next Page IconTo Next Page
To Next Page IconTo Next Page
To Previous Page IconTo Previous Page
To Previous Page IconTo Previous Page
Loading...
31
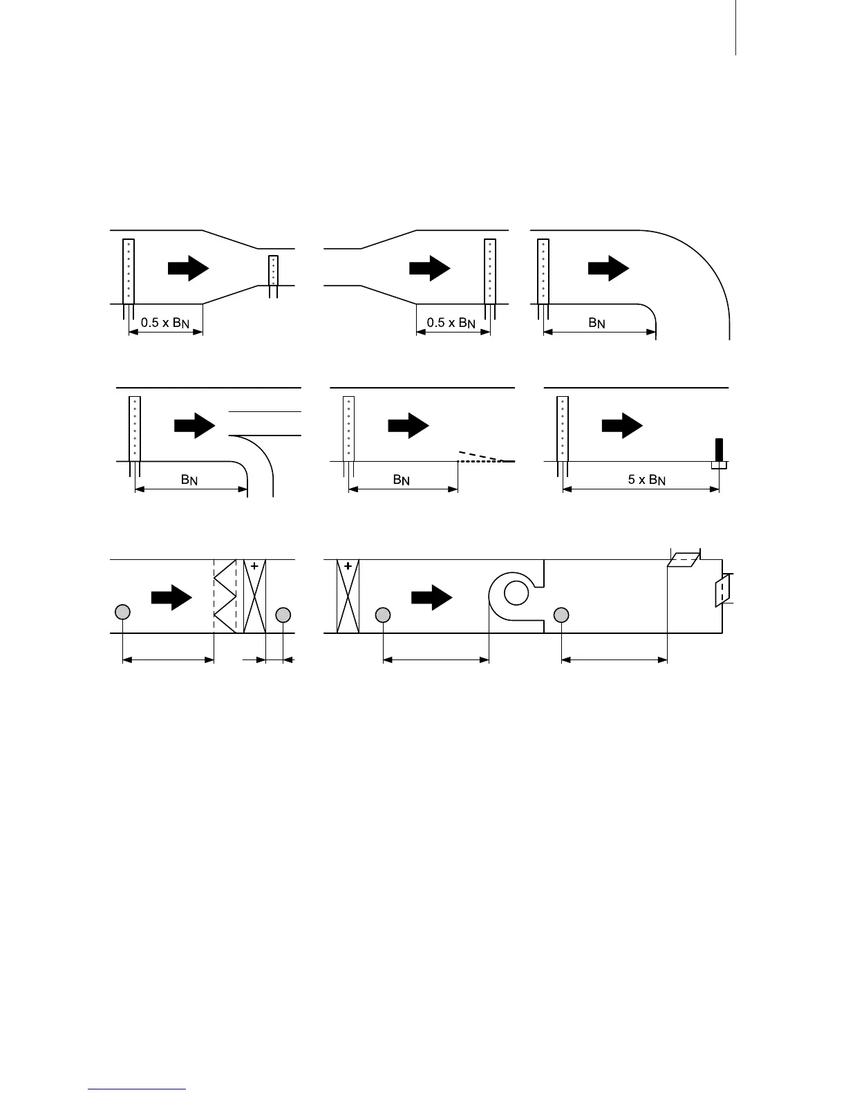
Minimum distances to be observed
Topreventthewatervapour,thatisemittingfromthesteamdistributionpipe,fromcondensingon
downstream system components, a minimum distance to the steam distribution pipe must be observed
(dependsonthehumidicationdistance“B
N
”).
before/after constriction after expansion before bend
before branch before diffuser before control sensor
before/afterlter/register before/afterfan,zoneexit
2,5xB
N
beforeaerosollter
Installation notes and dimensions
Thesteamdistributionpipesaredesignedforeitherhorizontalinstallation(ontheductwall)or,with
accessories,forverticalinstallation(intheductoor).Theoutletoricesshouldalwayspoint
upwardsandatrightanglestotheairow.
Ifpossible,thesteamdistributionpipesshouldbeinstalledonthepressure sideoftheduct(max.
duct pressure 1500 Pa).Ifthesteamdistributionpipesareinstalledonthesuctionsideoftheduct,
the maximum vacuum must not exceed 800 Pa.
Selectalocationfortheinstallation,tailoredtosuityourduct(seethefollowingillustrations)and
positionthesteamdistributionpipesintheductsothatauniformdistributionofsteamisachieved.
1.5 x B
N
*
B
N
B
N
5 cm

Table of Contents

Related product manuals