EasyManua.ls Logo

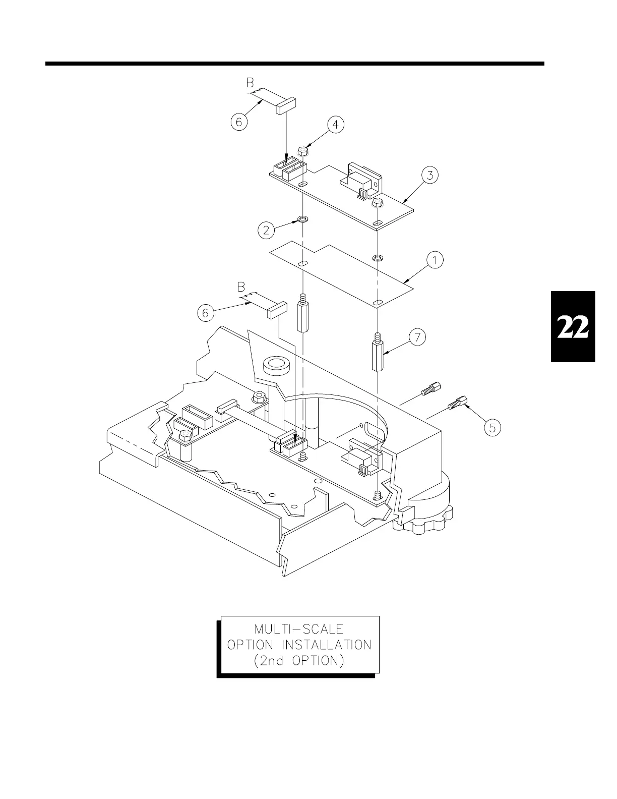
GSE 574 - Figure 35 Multi-Scale Second Option Card Installation

Default Icon
339 pages
Print Icon
To Next Page IconTo Next Page
To Next Page IconTo Next Page
To Previous Page IconTo Previous Page
To Previous Page IconTo Previous Page
Loading...
GSE Scale Systems - 235
Chapter 22 Multi-Scale Inputs and Capabilities (OPTION)
Technical Reference Manual
SECTION - 22.4
Figure 35 Multi-Scale Second Option Card Installation

Table of Contents