EasyManua.ls Logo

Hitachi RPI-4.0FSN4E - Removing Printed Circuit Board (PCB1)

Hitachi RPI-4.0FSN4E
429 pages
To Next Page IconTo Next Page
To Next Page IconTo Next Page
To Previous Page IconTo Previous Page
To Previous Page IconTo Previous Page
Loading...
10 Servicing
308
SMGB0077 rev.0 - 01/2013
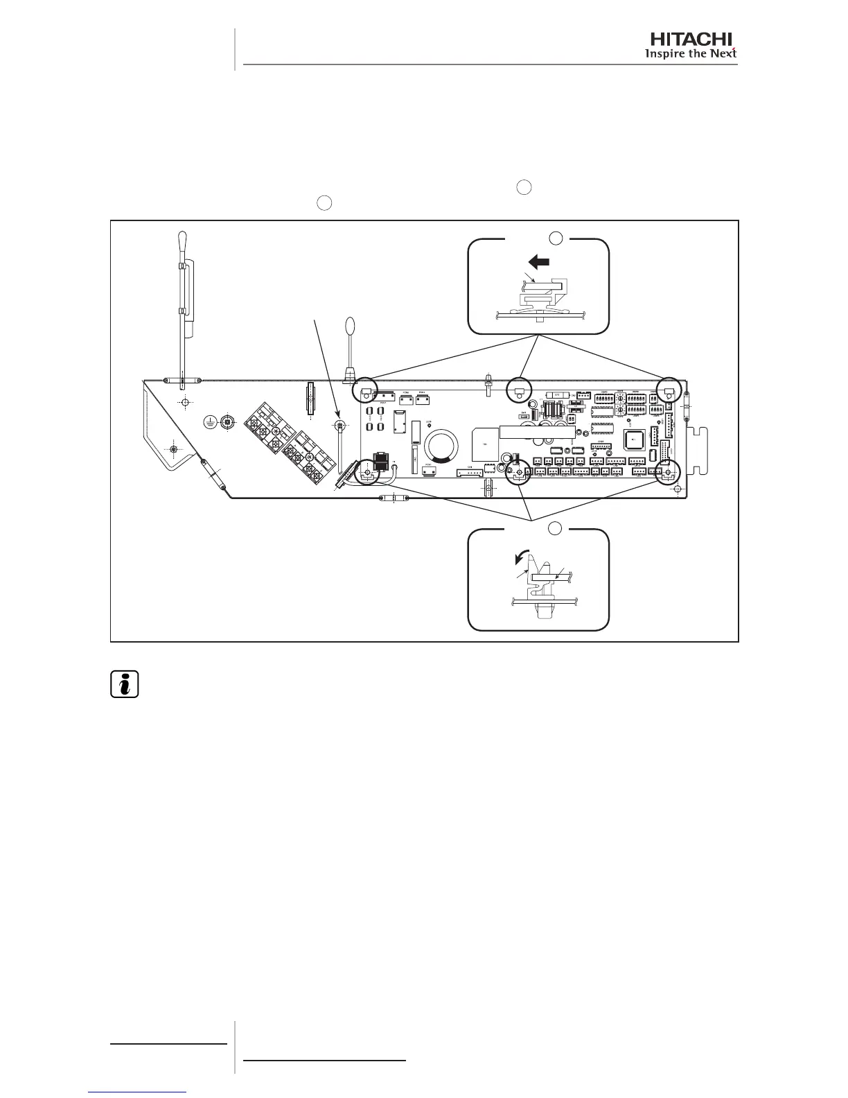
10.1.5 Removing Printed Circuit Board (PCB1)
1 Remove the air inlet grille according to the item “Removing Air Filter and Air Inlet Grille”.
2 Remove the electrical box according to the item “Removing Electrical Box Cover“.
3 Disconnect all wiring connectors from PCB1.
4 Remove the screw for earth wire.
5 The PCB1 is xed by six (6) holders. Bend the holders
B
by nger and raise the PCB1.
Remove the PCB1 from the holders
A
by drawing it towards arrow direction in the gure below.
Indoor Unit PCB
Electrical Box
Holder B
Screw for
Earth Wire
PCB1
PCB1
Holder
Bend the holder by finger.
Holder A
N O T E
• Do not touch electrical parts on PCB1.
• Pay attention not to apply an excessive force to PCB1. It may cause failure of PCB1.
• When reassembling, attach connectors to the correct position. If not, the PCB1 may be damaged.
In addition, securely attach the screw for earth wire.

Table of Contents

Other manuals for Hitachi RPI-4.0FSN4E

Related product manuals