EasyManua.ls Logo

Hitachi RPI-4.0FSN4E - Removal of the Fan Duct and the Fan

Hitachi RPI-4.0FSN4E
429 pages
To Next Page IconTo Next Page
To Next Page IconTo Next Page
To Previous Page IconTo Previous Page
To Previous Page IconTo Previous Page
Loading...
10 Servicing
336
SMGB0077 rev.0 - 01/2013
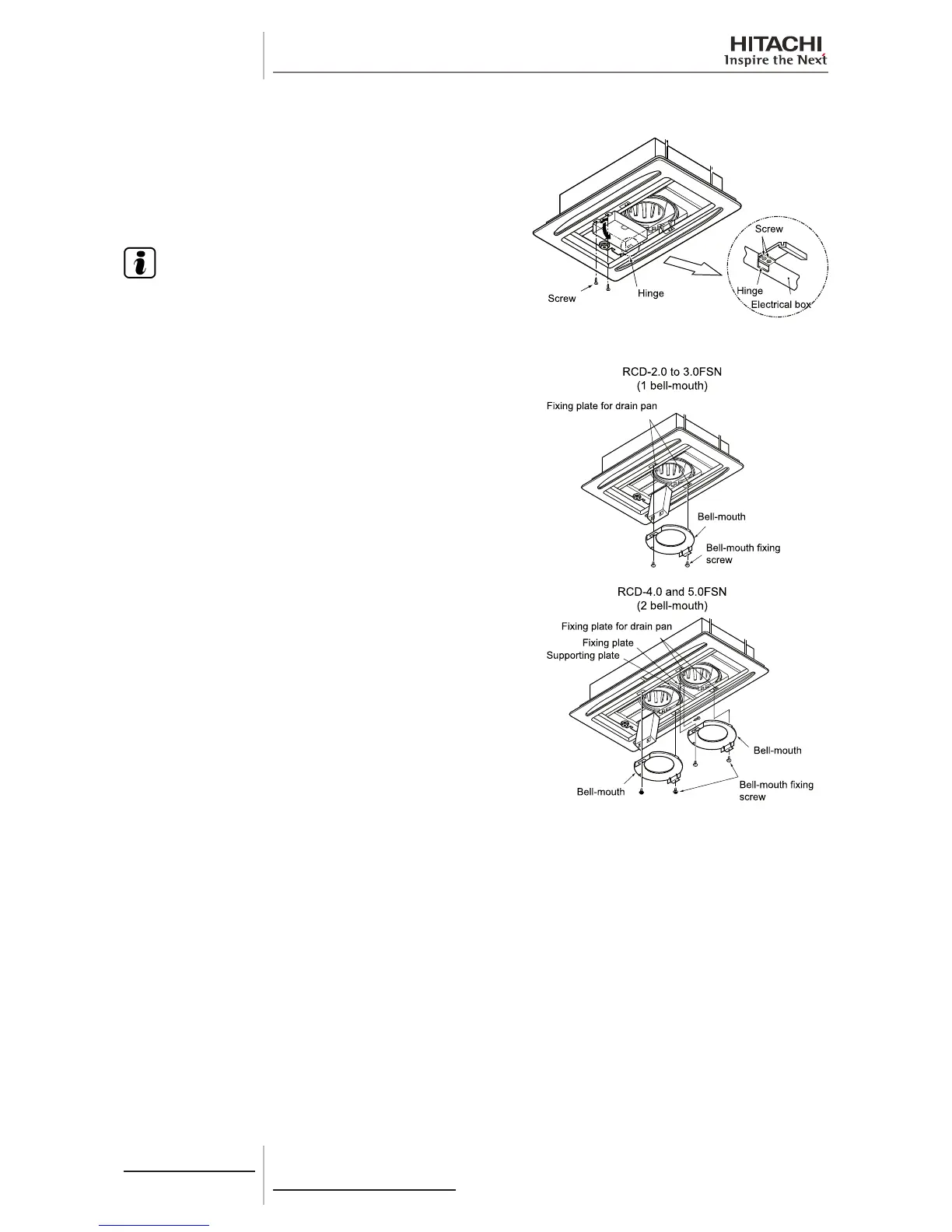
10.4.4 Removal of the fan duct and the fan
Remove the optional air panel in line with the instructions given in
chapter Removal of the optional air panel.
Separate the connectors from each cable in the electrical box.
Remove the two set screws from the electrical box and turn around
90° downwards (the electrical box is attached by the hinge).
N O T E
Do not remove the set screw from the hinge.
4 and 5 HP models: remove the screw from the securing plate and
remove.
Remove the two screws securing the bellmouth to the drain pan
securing plates and remove it.

Table of Contents

Other manuals for Hitachi RPI-4.0FSN4E

Related product manuals