EasyManua.ls Logo

Kalmar DCE80-100E - Inductive Sensors

Kalmar DCE80-100E
317 pages
Print Icon
To Next Page IconTo Next Page
To Next Page IconTo Next Page
To Previous Page IconTo Previous Page
To Previous Page IconTo Previous Page
Loading...
DCE80-100E
Technical Handbook
Sidelift attachment
Service
17
P.Group 80
TDCE01
04GB
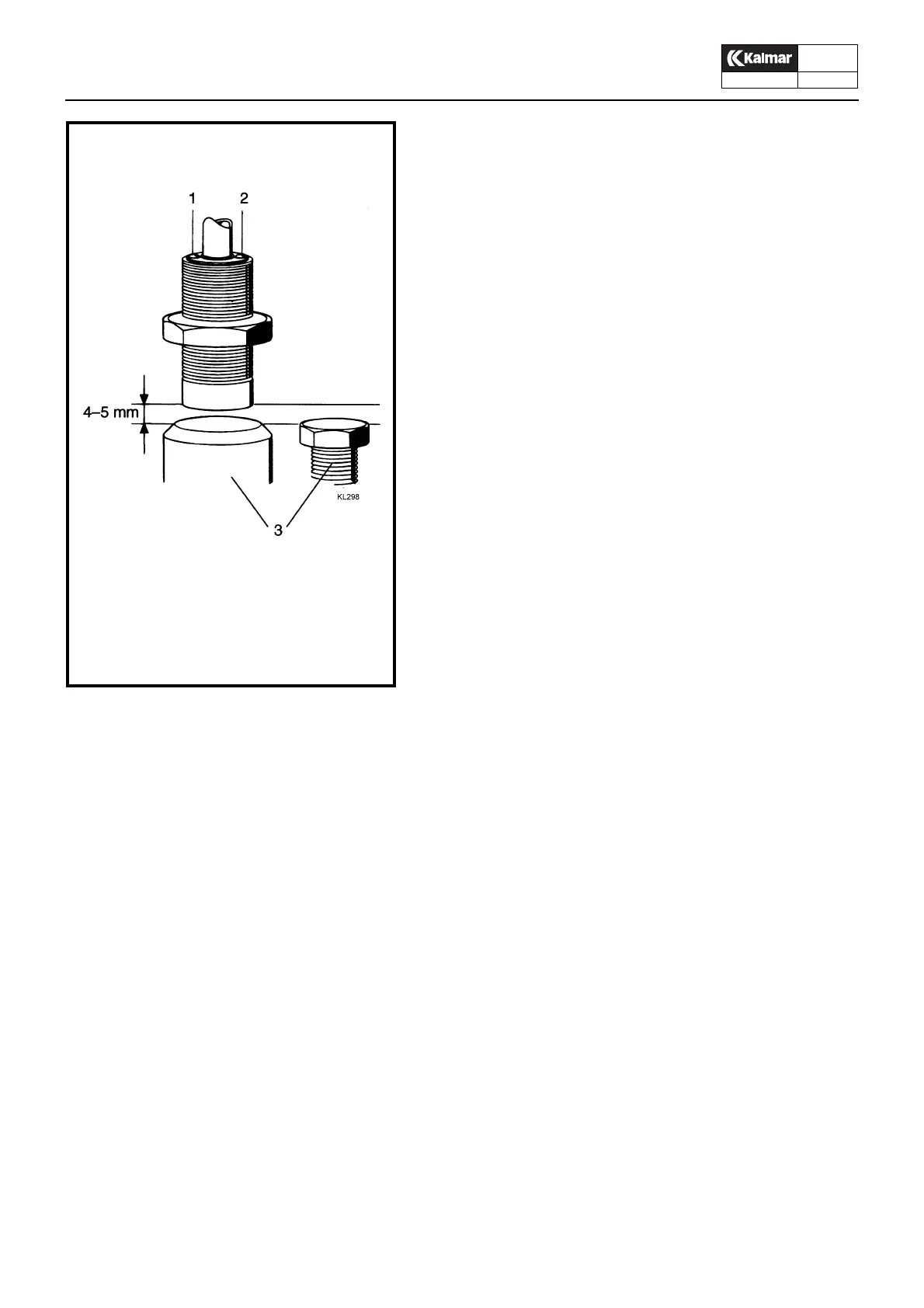
Inductive sensors
The inductive sensors control the various functions of the con-
tainer attachments.
The sensors are of the type PNP – positive/negative/positive, the
last P indicating that the sensor produces a positive signal when
activated. The sensor is activated when a magnetic object gets
closer than approx 8 mm from the top of the sensor.
The sensor has a light diode which can be used for checking of
the sensor function.
Sensor adjustment and check
1. The gap between sensor and magnetic activator should be
set to 4–5 mm. At a distance of more than 8 mm, the sensor
is deactivated.
2. When the sensor is activated, the yellow diode should be
alight.
3. Check that the sensor is clean and free from grease and that
it is undamaged. (Grease may activate the sensor).
1. Yellow LED, sensor activated
2. –
3. Magnetic activator
Inductive sensor

Table of Contents

Related product manuals