EasyManua.ls Logo

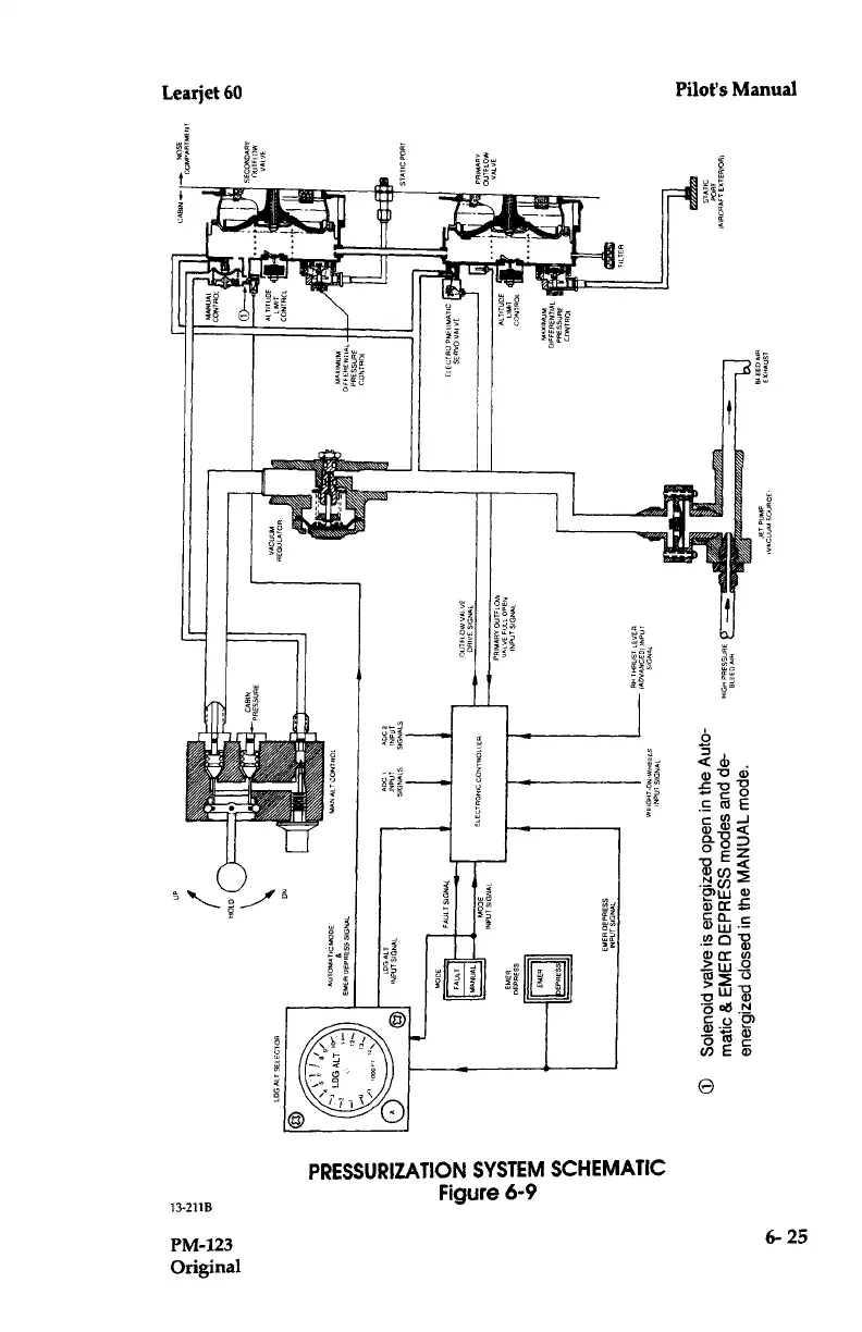
Learjet 60 - Pressurization System Schematic (Figure 6-9)

Default Icon
408 pages
Print Icon
To Next Page IconTo Next Page
To Next Page IconTo Next Page
To Previous Page IconTo Previous Page
To Previous Page IconTo Previous Page
Loading...
Learjet
60
Pilot's
Manual
13-211B
PRESSURIZATION
SYSTEM
SCHEMATIC
Figure
6-9
PM-123
6-25
Original

Table of Contents

Related product manuals