EasyManua.ls Logo

Malaguti Password 250 i.e. - DIGITAL INSTRUMENT PANEL

Malaguti Password 250 i.e.
124 pages
Print Icon
To Next Page IconTo Next Page
To Next Page IconTo Next Page
To Previous Page IconTo Previous Page
To Previous Page IconTo Previous Page
Loading...
20
11/06
A
PASSWORD 250 i.e.
FRAME AND RUNNING GEAR
GETTING TO KNOW YOUR SCOOTER
2
3
2
1
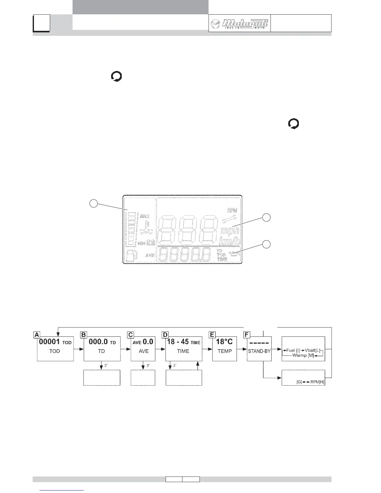
DIGITAL INSTRUMENT PANEL
The digital instrument panel provides data for the rider to enable optimum management of the scooter.
When the ignition key is set to , all displays on the instrument panel will illuminate for approximately 3 seconds to
check that they are working correctly; the backlighting and warning lights will illuminate simultaneously for the same
reason.
During this phase the engine displacement, speedometer unit of measurement, and scooter model will appear on the
display.
The automatic check described above is performed every time the ignition key is turned to .
When this signal disappears, the following appear:
1) Secondary Menu or Submenu
2) Main Menu
3) Bar graph
To select a function, press the MODE button on the right-hand control. Operation of the MODE button is illustrated in the
following diagrams by means of an “arrow” symbol accompanied by the time for which the button must be held down. If
the time is not specified, momentary pressure on the button (< 1 sec.) is sufficient.
The available functions are divided into Main Menu and Secondary Menu or Submenu
.
The digital display can show warning and alarm signals that notify the rider when it is time to have the vehicle
serviced, when to change the engine oil, whether there is a risk of ice on the road, etc.; the alarm signals are illustrated
and explained below.
MODE button not
pressed for 4”
(total) (partial) (average) (time) (exterior)
Bar Graph
selection
Reset Reset
Time adjustment
Main Menu
selection:
Speed
No pressing
for 3”

Table of Contents

Related product manuals