EasyManua.ls Logo

marposs WRP45 - WRI Receiver Connection

Default Icon
84 pages
Print Icon
To Next Page IconTo Next Page
To Next Page IconTo Next Page
To Previous Page IconTo Previous Page
To Previous Page IconTo Previous Page
Loading...
WRS Installation Manual
52
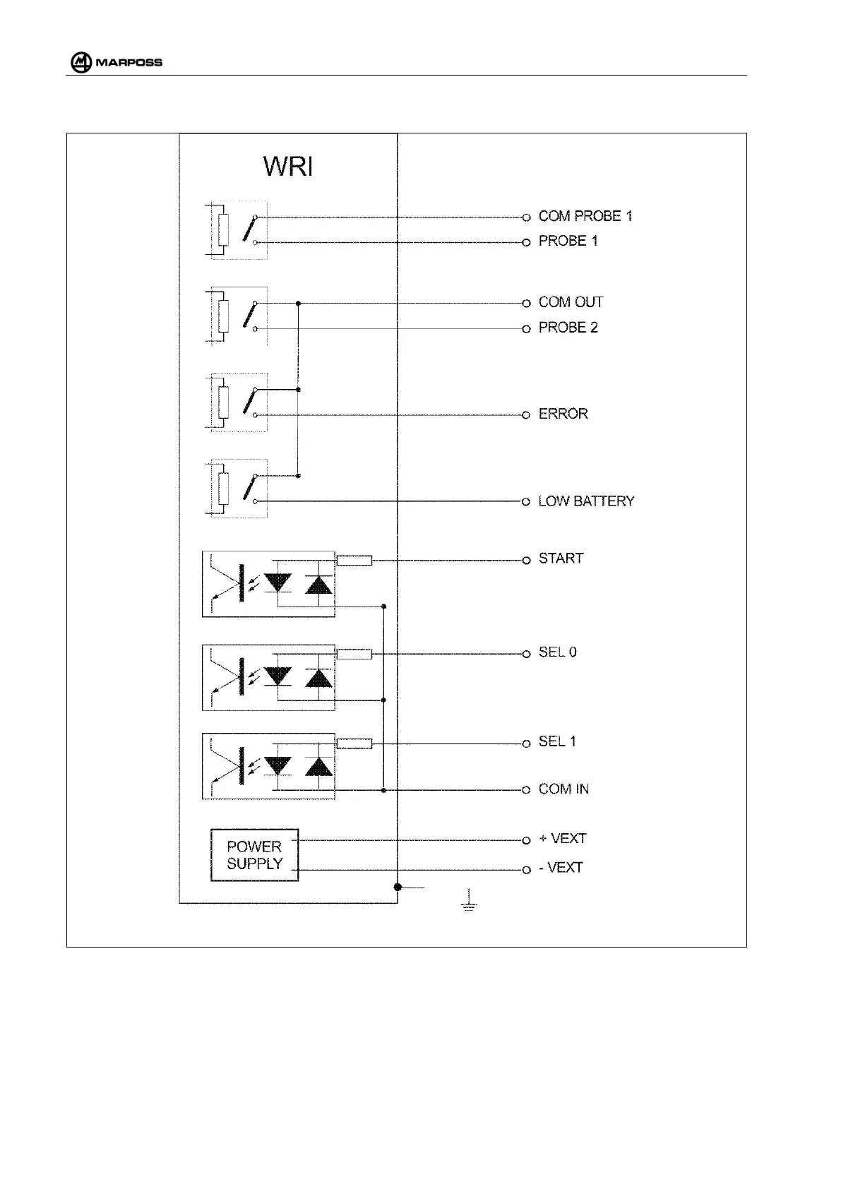
4.11 Connecting the WRI Receiver
METAL SHIELD
YELLOW
GREEN
BLU
VIOLET
PINK
BLACK
RED
GREY/PINK
RED/ BLUE
GREY
BROWN
WHITE

Table of Contents