EasyManua.ls Logo

MLC LC100 - Page 32

MLC LC100
148 pages
Print Icon
To Next Page IconTo Next Page
To Next Page IconTo Next Page
To Previous Page IconTo Previous Page
To Previous Page IconTo Previous Page
Loading...
32
LC100 Instruction manual
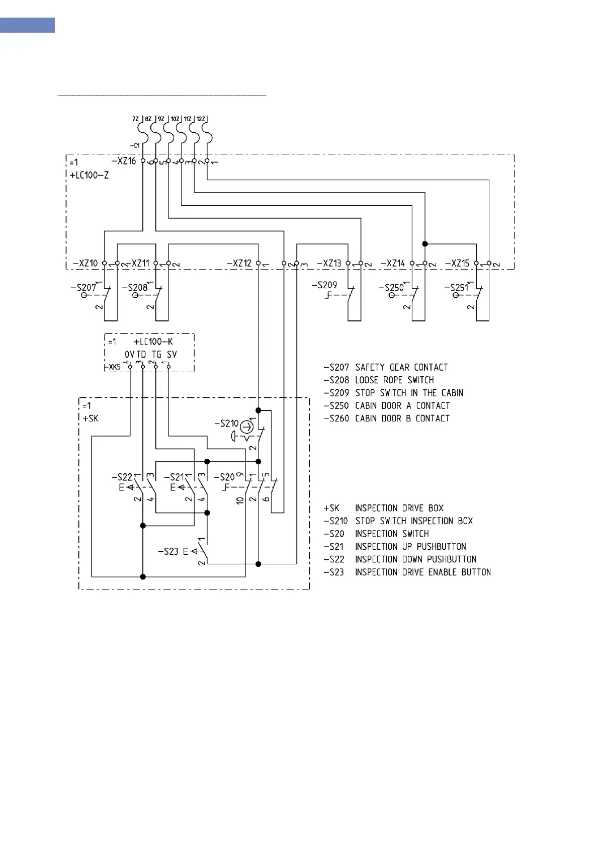
Connectors XZ10 to XZ16 are used to connent cafety circuit.
Safety circuit on the cabin connection diagram:
LC100-Z circuit includes an emergency power supply. Circuit for emergency power supply is equipped
with a 100mA fuse on the primary side of transformer, and 1A fuse on the side of the 12VDC power supply. On
the board is installed potentiometer for setting the battery charging voltage.
Connection diagram for alarm and emergency light is given in LC100-S board description.

Table of Contents