EasyManua.ls Logo

Muton XPJ-1641SR - Connecting to a Computer

Muton XPJ-1641SR
166 pages
Print Icon
To Next Page IconTo Next Page
To Next Page IconTo Next Page
To Previous Page IconTo Previous Page
To Previous Page IconTo Previous Page
Loading...
12 Connecting to a Computer
Connecting to a Computer
Important!
Make sure your computer meets the following requirements.
OS: Windows 10 (64bit), Windows 8/8.1 (64bit), Windows 7 (64bit)
CPU: Intel (R) Core (TM) i5 / i7
Memory: 8GB minimum
•Network:
XPJ-1641SR: Use a network port that supports Ethernet, and an Ethernet cable that supports Category 5 Gigabit Ethernet or
later.
XPJ-1682SR: Use a network port that supports Gigabit Ethernet, and an Ethernet cable that supports Category 6 Gigabit Ethernet
or later.
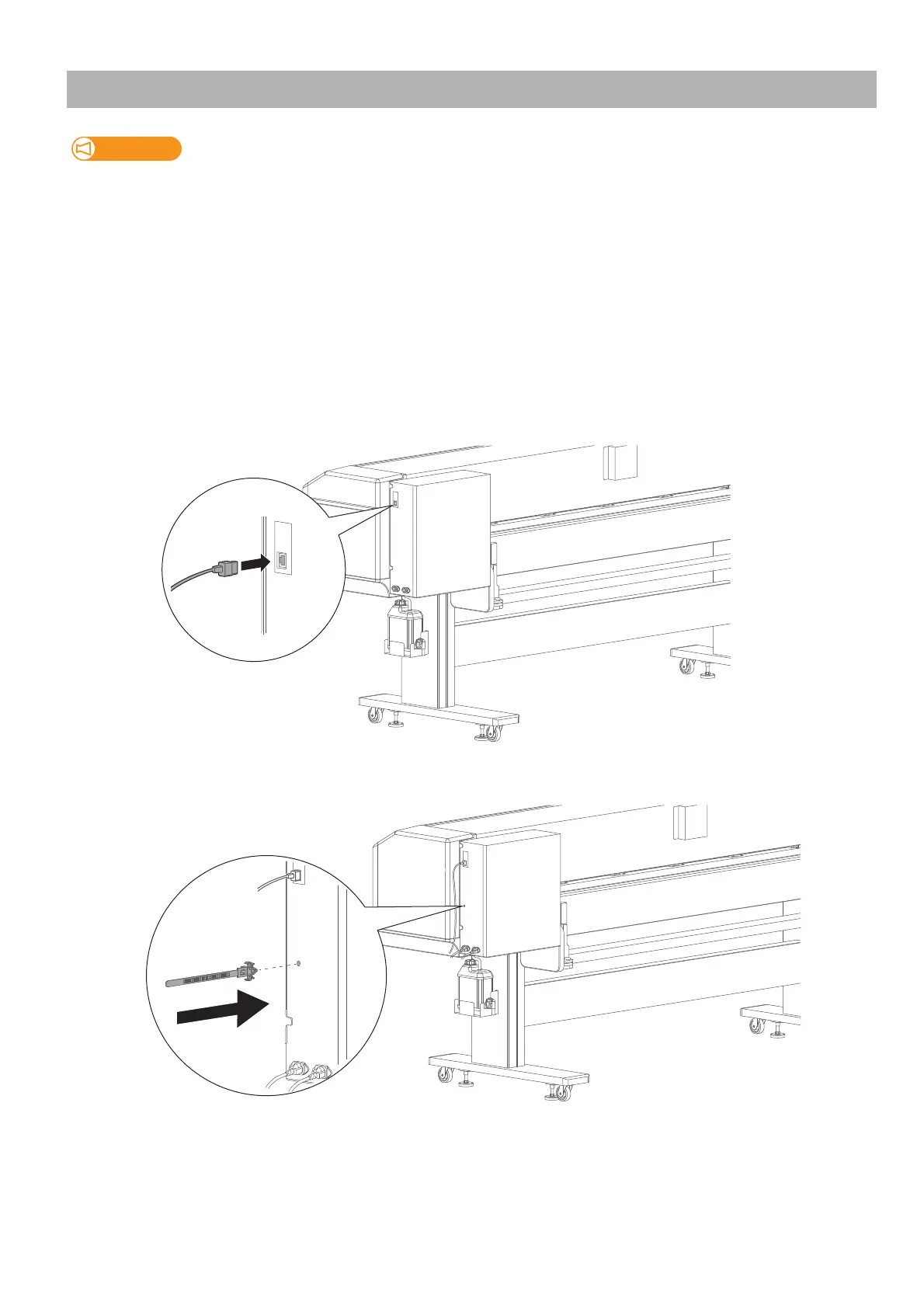
[1]
Connect the Gigabit Ethernet cable to the printer.
[2]
Insert the tip of the cable tie into the hole on the printer to attach it.

Table of Contents

Related product manuals