EasyManua.ls Logo

NMC-WOLLARD 100 - Page 540

NMC-WOLLARD 100
848 pages
Print Icon
To Next Page IconTo Next Page
To Next Page IconTo Next Page
To Previous Page IconTo Previous Page
To Previous Page IconTo Previous Page
Loading...
NMC-WOLLARD 2021Truax Blvd., Eau Claire, WI 54703, Phone (715) 835-3151, Fax (715) 835-6625
M100 Tow Tractor Manual No. 46052
PAGE 302
CHAPTER 4 REPAIR PARTS
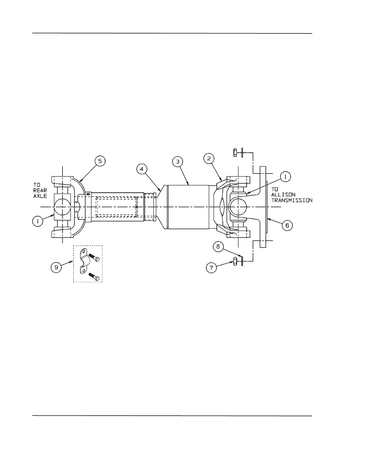
FIGURE 125.
DRIVESHAFT ASSEMBLY, DEUTZ BF4M2012E/AT545
4 ILLUSTRATED PARTS LIST
AUGUST 31, 2008

Table of Contents

Related product manuals