EasyManua.ls Logo

NMC-WOLLARD 100 - Page 586

NMC-WOLLARD 100
848 pages
Print Icon
To Next Page IconTo Next Page
To Next Page IconTo Next Page
To Previous Page IconTo Previous Page
To Previous Page IconTo Previous Page
Loading...
NMC-WOLLARD 2021Truax Blvd., Eau Claire, WI 54703, Phone (715) 835-3151, Fax (715) 835-6625
M100 Tow Tractor Manual No. 46052
PAGE 348
CHAPTER 4 REPAIR PARTS
4 ILLUSTRATED PARTS LIST
APRIL 15, 2012
4 ILLUSTRATED PARTS LIST
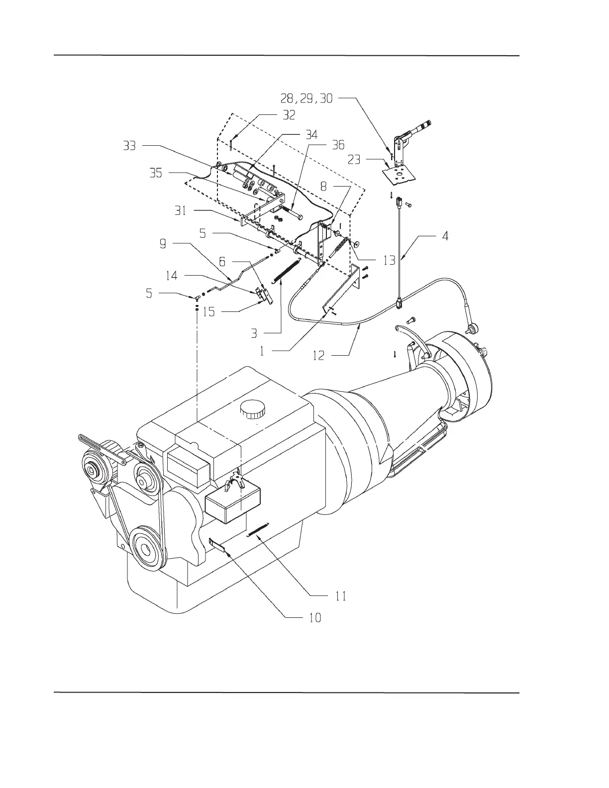
FIGURE 145.
LINKAGE SYSTEM, PERKINS 1104 T3 TURBO/C6

Table of Contents

Related product manuals