EasyManua.ls Logo

Nordson EFD E2V - Page 68

Nordson EFD E2V
103 pages
Print Icon
To Next Page IconTo Next Page
To Next Page IconTo Next Page
To Previous Page IconTo Previous Page
To Previous Page IconTo Previous Page
Loading...
www.nordsonefd.com info@nordsonefd.com 800-556-3484 Sales and service of Nordson EFD dispensing systems are available worldwide.
EV Series Automated Dispensing Systems
68
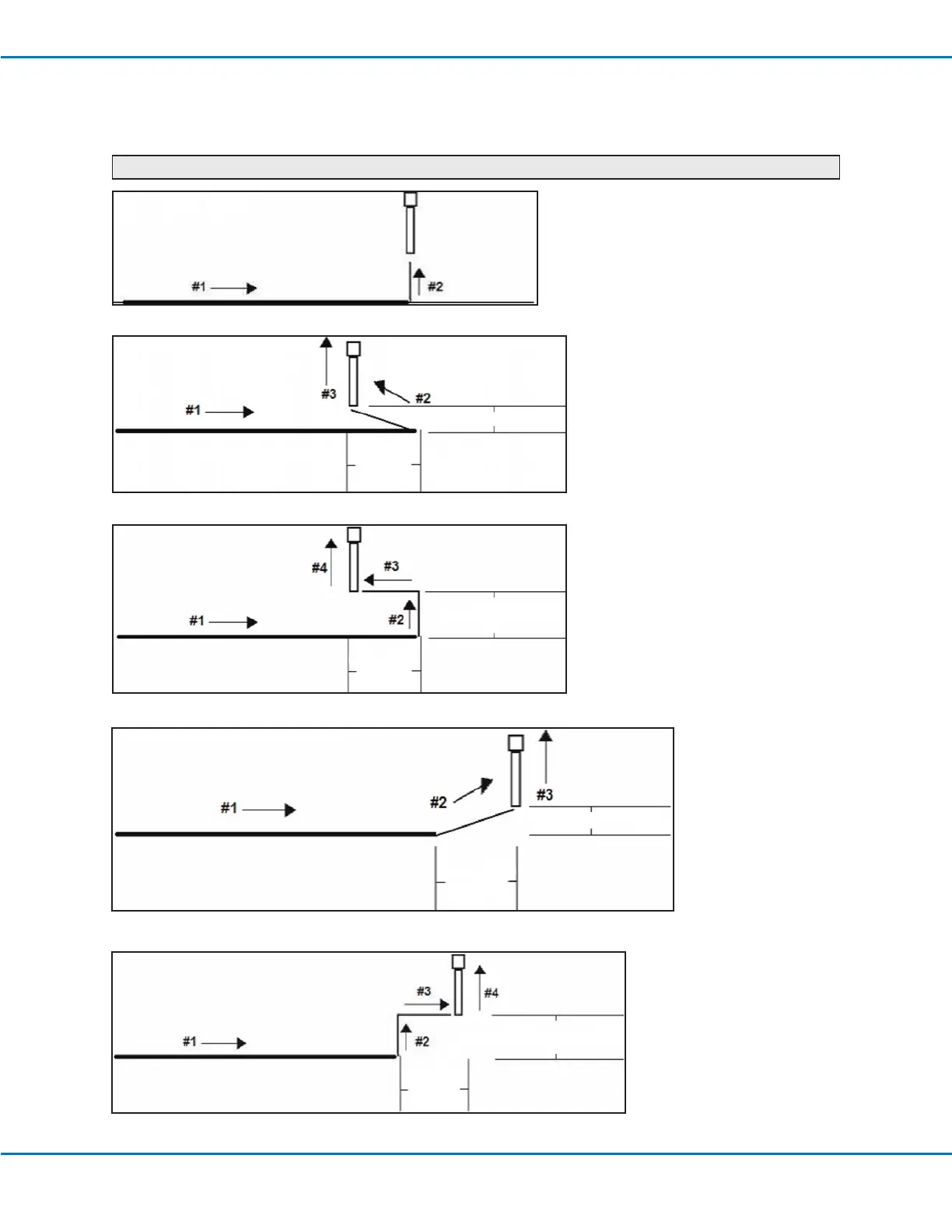
Appendix A, Command Function Reference
(continued)
Backtrack Setup (continued)
Example illustrations of Backtrack Setup
0 or blank (Normal)
Backtrack Gap
1 (Back)
Backtrack Gap
Backtrack
Length
2 (Square Back)
Backtrack Gap
Backtrack
Length
3 (Forward)
Backtrack Gap
Backtrack
Length
4 (Square Forward)
Backtrack Gap
Backtrack
Length

Table of Contents

Related product manuals