EasyManua.ls Logo

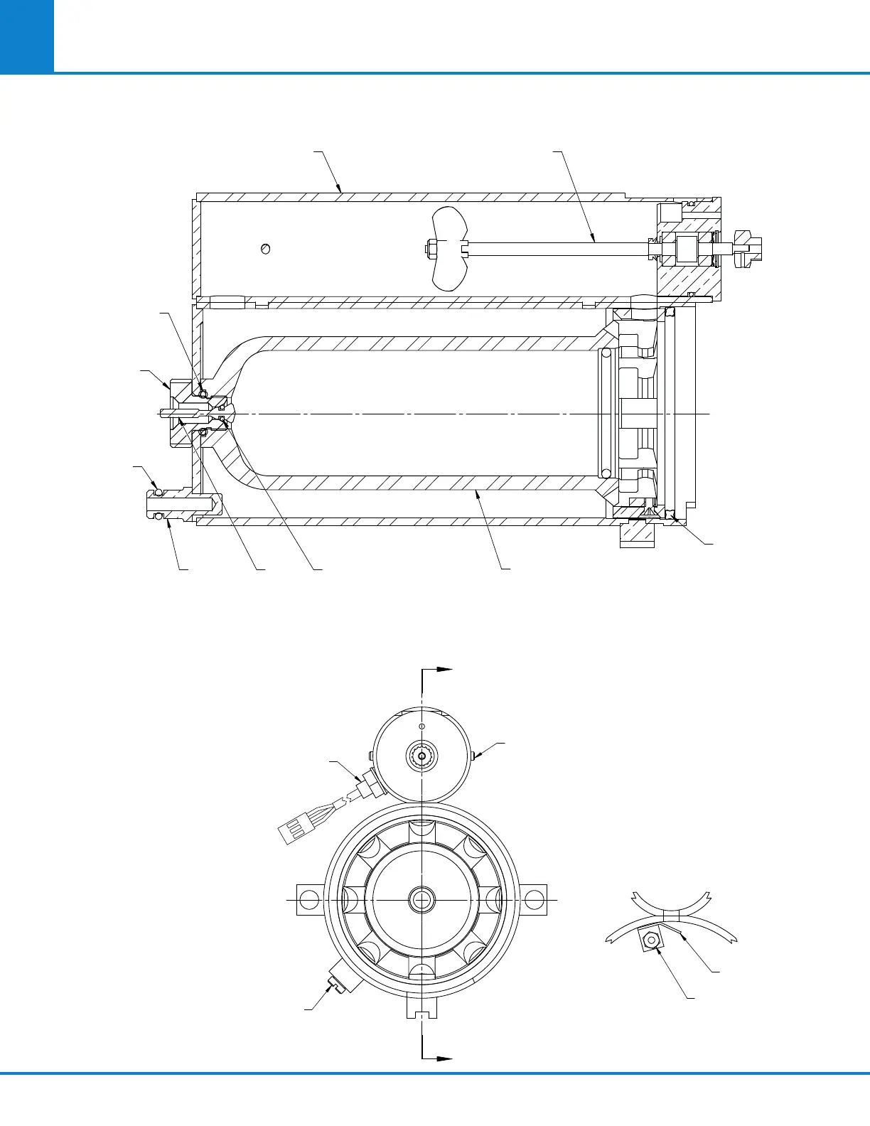
parr 6400 - Figure 13-4: 6400 Bucket Assembly

Default Icon
100 pages
Print Icon
To Next Page IconTo Next Page
To Next Page IconTo Next Page
To Previous Page IconTo Previous Page
To Previous Page IconTo Previous Page
Loading...
Parts Lists & Drawings
13
86
Figure 13-4: 6400 Bucket Assembly
A
1435
DD_S
2
R
2
* Parts to be replaced as part of the 500 Test Maintenance, see Chapter 11.
SECTION A-A
1071DD*
A890DD2
(1138)
821DD668DD
943DD REF
SEE NOTE
944DD
925DD
SEE NOTE
882DD*
A940DD
A1455DD
A
A
(2) SC1332SC03
6-32 X 3/16 SCSS
1416E W/
946DD
1129DD
ANTI-ROTATION PIN
659DD
O-RING
NOTE:
REINSTALL 1035DD CAP OVER 925DD AND 1034DD CAP
OVER 943DD TO PROTECT O-RING SEAL SURFACES.
REMOVE CAPS JUST PRIOR TO INSTALLING BUCKET
ASSEMBLY INTO AIR CAN ASSEMBLY.
1037DD
BAFFLE
SN1140HLHJ
4-40 HEX LOCK
BAFFLE ASSEMBLY DETAIL
NYLON NUT

Table of Contents

Related product manuals