EasyManua.ls Logo

Powerscreen XA750S - Page 235

Default Icon
292 pages
Print Icon
To Next Page IconTo Next Page
To Next Page IconTo Next Page
To Previous Page IconTo Previous Page
To Previous Page IconTo Previous Page
Loading...
45-9
Servicing Vee Belts
EN
a. Use a spring balance to pull the belt down at
the centre of the span.
b. When the belt has been pulled down
[measure using a rule] by the de󰘱ection
calculated in step 4, read o󰘯 the force from
the spring balance.
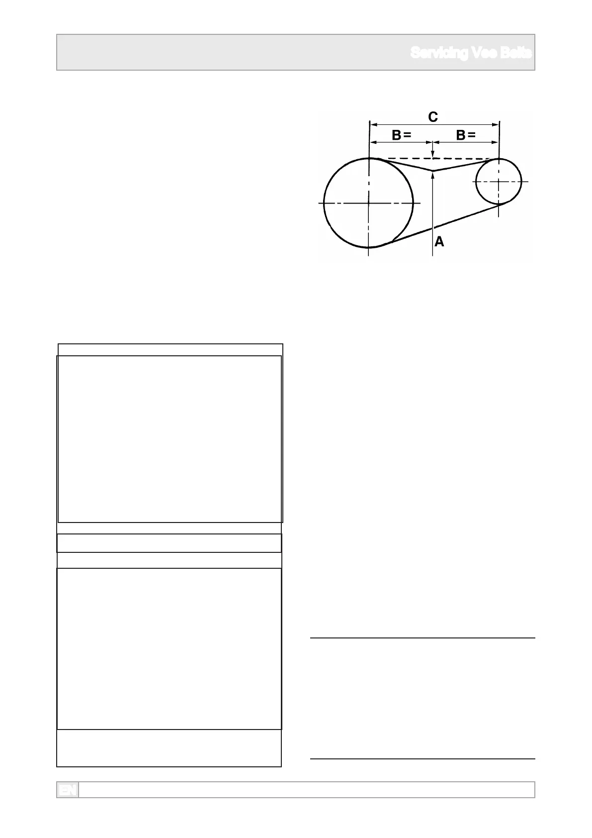
Belt Tensioning Measurements
A - 16mm de󰘱ection per metre (0.6in per 3ft).
B - Belt tension indicator applied to mid-span.
C - Centre to centre distance.
NOTICE
After the drive has been running for 15 to
20 minutes, the plant should be stopped
and the tension checked. If necessary, re-
adjusted to the basic setting force value by
repeating the above procedure from step
1.
[x1] BASIC SETTING FORCES
SPB BELT SECTION
Small Pulley Diameter:
112 to 160mm (4.4 to 6.3in) · · · · 4.0kgf (8.8lbf)
170 to 224mm (6.7 to 8.8in) · · · 5.1kgf (11.2lbf)
236 to 355mm (9.3 to 14.0in) · · 6.3kgf (13.9lbf)
Over 355mm (14in)· · · · · · · · 6.6kgf (14.6lbf)
SPC BELT SECTION
Small Pulley Diameter:
224 to 250mm (8.8 to 9.8in) · · · 7.1kgf (15.7lbf)
265 to 355mm (10.4 to 14in) · · · 9.4kgf (20.7lbf)
Over 375mm (14.8in)· · · · · · · 12kgf (26.5lbf)
[x1.25] BASIC SETTING FORCES
If recommended for new belts
SPB BELT SECTION
Small Pulley Diameter:
112 to 160mm (4.4 to 6.3in) · · · 5.1kgf (11.2lbf)
170 to 224mm (6.7 to 8.8in) · · · 6.3kgf (13.9lbf)
236 to 355mm (9.3 to 14.0in) · · 7.9kgf (17.4lbf)
Over 355mm (14in)· · · · · · · · 8.3kgf (18.3lbf)
SPC BELT SECTION
Small Pulley Diameter:
224 to 250mm (8.8 to 9.8in) · · · 8.9kgf (19.6lbf)
265 to 355mm (10.4 to 14in) · · · 11.8kgf (26lbf)
Over 375mm (14.8in)· · · · · · · 15kgf (33.1lbf)
6. If a belt tension indicator is not available:
7. If the measured force falls within the values
given, the drive should be satisfactory.
A measured force below the lower value
indicates under-tensioning. Some new drive
belts are tensioned to the x1.25 Setting Force
value to allow for the normal drop in tension
during the running-in period. This is not
recommended for all belts.
8. Replace all guards before start-up.

Table of Contents