EasyManua.ls Logo

ProMinent DULCOMETER - Page 74

ProMinent DULCOMETER
180 pages
Print Icon
To Next Page IconTo Next Page
To Next Page IconTo Next Page
To Previous Page IconTo Previous Page
To Previous Page IconTo Previous Page
Loading...
Valid calibration values
Evaluation Zero point Slope
Very good -30 mV … +30 mV 56 mV/pH … 60 mV/pH
Good -45 mV … +45 mV 56 mV/pH … 60,5 mV/pH
Acceptable -60 mV … +60 mV 55 mV/pH … 62 mV/pH
Continuous display ➨
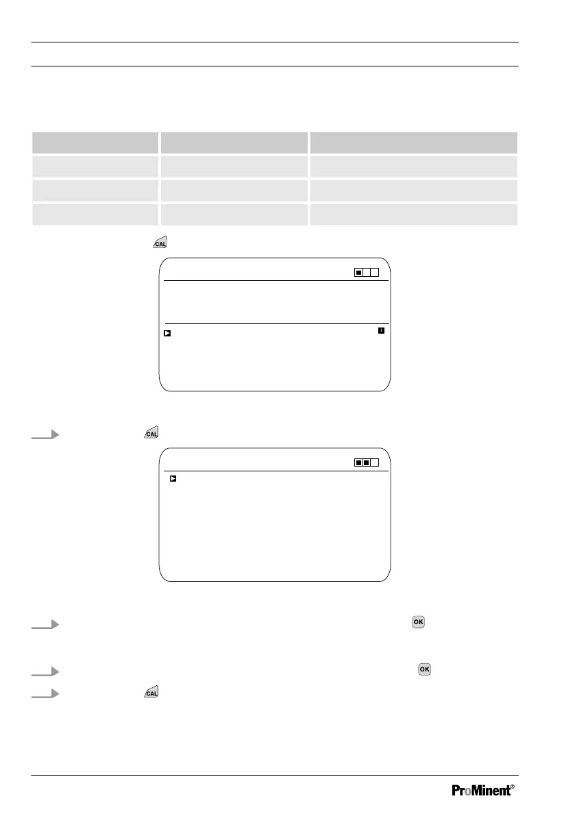
CAL pH
Calibration process Data input
A1024
Zero point
Slope
Last calibration
CAL setup
continue with <CAL>
16:47:32
7,00 pH
59.16 mV/pH
06/05/2013
Fig. 41: pH sensor calibration (CAL)
1.
Continue with
CAL pH
6.88 pH
Slope
at 25.0 °C
A1026
or
-58.07 mV/pH
continue with <CAL>
Asymmetry
at 25.0 °C
Zero point
at 25.0 °C
-6.4 mV
Fig. 42: Selection of the settable parameters
2.
Use the arrow keys to select the required menu item and press
ð
The entry window appears.
3.
Enter the values for your sensor using the arrow keys and press
4.
Continue with
Calibration
74

Table of Contents

Other manuals for ProMinent DULCOMETER

Related product manuals