EasyManua.ls Logo

SciCan Bravo - Program Execution

SciCan Bravo
96 pages
Print Icon
To Next Page IconTo Next Page
To Next Page IconTo Next Page
To Previous Page IconTo Previous Page
To Previous Page IconTo Previous Page
Loading...
9. RUNNING THE CYCLE
39.
Door locking
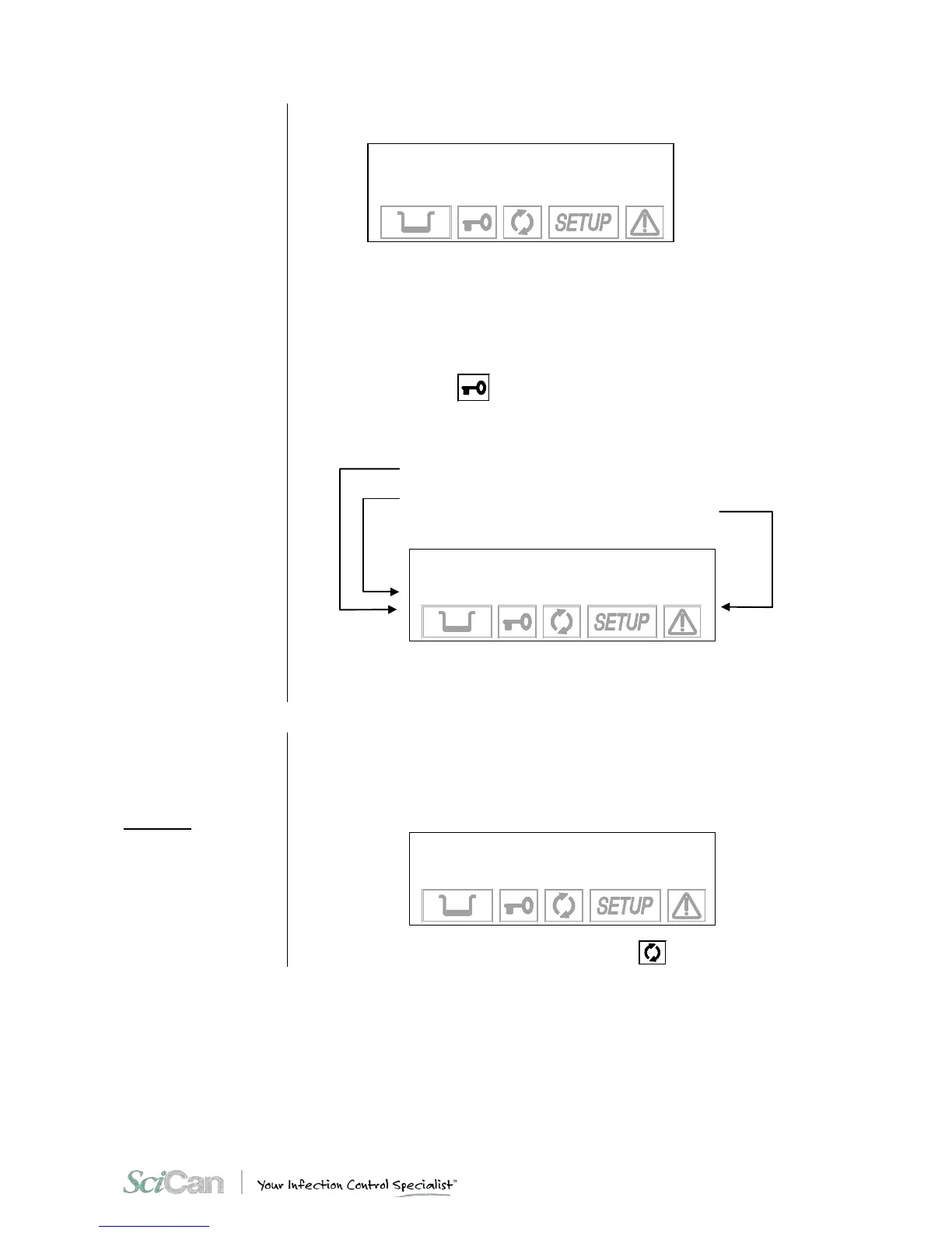
If there is insufficient memory to store the new cycle data, the following message will be
displayed:
WARNING
CARD FULL
to continue
to exit
Push key to continue without recording the cycle data.
Push key to interrupt the start command; download the files onto a PC and delete the
memory content according to the instructions of the data recorder operating manual.
Repeat the Start command.
The unit locks the door.
When the door status icon
appears without blinking, the door is locked
When S T AR T is pushed, and for the entire sterilization cycle, the lower lines of the display will
show the following parameters:
Pressure of the sterilization chamber (bar)
Temperature of the sterilization chamber C)
Progressive time of the sterilization cycle (mm:ss)
1 134 POROUS/WRAPPED
WARMUP
101.9 °C
0.01 bar 00:00
Cycle time is counted from the start of the sterilization cycle (at the first vacuum phase), and
excludes the preheating phase.
PROGRAM
EXECUTION
Preheating
What follows is a phase by phase explanation of the execution of a sterilization cycle, using as
an example, the most complete and important cycle, the 134 POROUS/WRAPPED program.
This cycle is characterized by a fractionated pre-vacuum.
When the S T AR T button is pressed, the first phase is PREHEATING, which brings the
chamber to the required temperature for the start of the cycle. The display shows the following:
1 134 POROUS/ WRAPPED
WARMUP
23.9 °C
0.01 bar 00:00
The icon that shows the status of the sterilization process is off.
or
MEMORY FULL

Table of Contents

Other manuals for SciCan Bravo

Related product manuals