EasyManua.ls Logo

Siemens 6RA7086-6KS22

Siemens 6RA7086-6KS22
734 pages
To Next Page IconTo Next Page
To Next Page IconTo Next Page
To Previous Page IconTo Previous Page
To Previous Page IconTo Previous Page
Loading...
Function diagrams 05.05
8-72 SIEMENS AG 6RX1700-0AD76
SIMOREG DC Master Operating Instructions
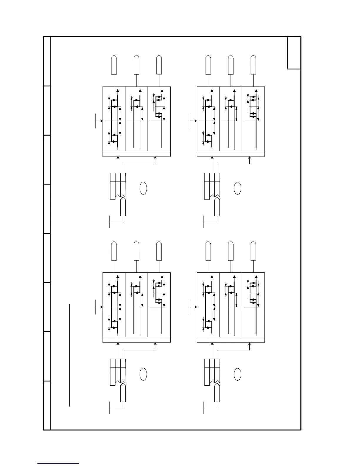
Sheet B137 Limit-value monitors without filter
87564321
B
A<B
A=B
A
|A|<B
A
B
A
B
BB
A
0
0
0
<1>
.01
.02
B
A<B
A=B
A
|A|<B
A
B
A
B
BB
A
0
0
0
<1>
.01
.02
B
A<B
A=B
A
|A|<B
A
B
A
B
BB
A
0
0
0
<1>
.01
.02
B
A<B
A=B
A
|A|<B
A
B
A
B
BB
A
0
0
0
<1>
.01
.02
73
- B137 -
U199 U199
U199
U199
U199/2
74
U202
U202
U202
U202
U202/2
75
76
U205
U205
U205
U205
U205/2
U208 U208
U208
U208
U208/2
B9169
B9171
B9170
B9172
B9174
B9173
B9175
B9177
B9176
B9178
B9180
B9179
0,00...100,00
U199 (0,00)
K9186
U198 (0,00)
U197
K
K
0
9186
0,00...100,00
U202 (0,00)
K9187
U201 (0,00)
U200
K
K
0
9187
0,00..100,00
U205 (0,00)
K9188
U204 (0,00)
U203
K
K
0
9188
0,00...100,00
U208 (0,00)
K9189
U207 (0,00)
U206
K
K
0
9189
4 limit-value monitors without filter
<1> Example: -50% < -40%
Hysteresis
Hysteresis
Hysteresis
Hysteresis
FS
FS
FS
FS

Table of Contents

Related product manuals