EasyManua.ls Logo

Siemens 6RA7086-6KS22

Siemens 6RA7086-6KS22
734 pages
To Next Page IconTo Next Page
To Next Page IconTo Next Page
To Previous Page IconTo Previous Page
To Previous Page IconTo Previous Page
Loading...
05.05 Maintenance
SIEMENS AG 6RX1700-0AD76 13-9
SIMOREG DC Master Operating Instructions
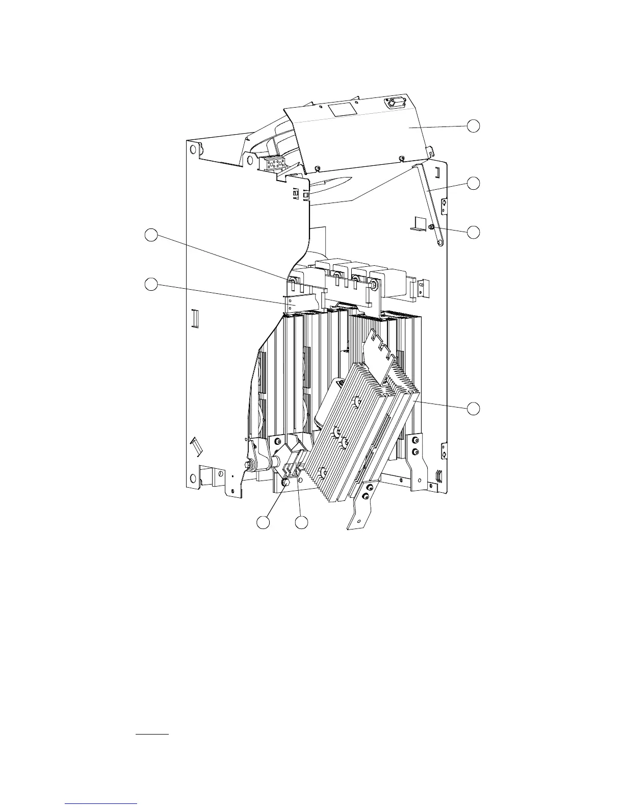
13.2.4 Replacement of fuses and thyristor assemblies on converters of 1500A and
above
1
2
3
7
8
4
5
6
25 Nm
6 Nm
6 Nm
10 Nm
25 Nm
Undo the M6 hexagonal nut
a.
Swing the fan
s upwards and hold in place with support rail d .
Remove the brace
f with the attached protective cover by undoing the 2 M6 hexagon-head
screws.
Remove fuses
g by undoing the 2 hexagon-head screws on each (M10 or M12 depending on
converter model).
Undo the M10 hexagon-head screw
h and swing thyristor assembly j out towards you.
Undo assembly locking mechanism (M6 hexagonal nut)
k , and pull out thyristor assembly j
upwards at an angle.
Install the new components in the reverse order.
Caution
: The fuse mounting screws are of different lengths!

Table of Contents

Related product manuals