EasyManua.ls Logo

Siemens 6RA7086-6KS22

Siemens 6RA7086-6KS22
734 pages
To Next Page IconTo Next Page
To Next Page IconTo Next Page
To Previous Page IconTo Previous Page
To Previous Page IconTo Previous Page
Loading...
Maintenance 05.05
13-2 SIEMENS AG 6RX1700-0AD76
SIMOREG DC Master Operating Instructions
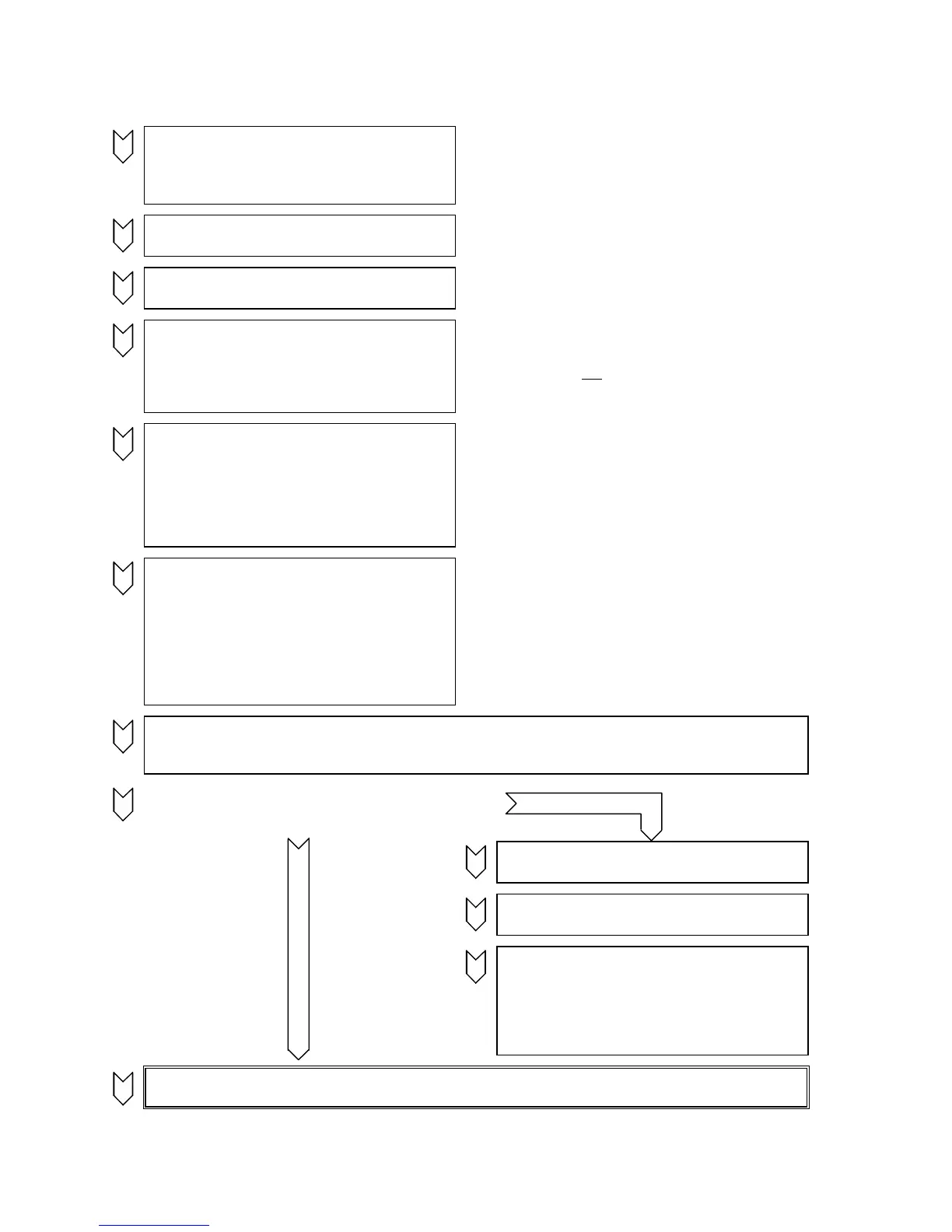
13.1 Procedure for updating software
1
Read out and write down all parameter
contents.
(also note software version in r060.001 and
r065.001!)
Note:
The parameter set can be transferred to a PC or
programming device by means of DriveMonitor
(see also Section 15).
2
Switch off electronics power supply
3
Connect one COM port on the PC to
connector X300 on the converter
Cable order number: 6SX7005-0AB00
(see also Section 15.3)
4
Switch on electronics power supply AND
press down the UP key on the PMU of the
SIMOREG converter at the same time
The SIMOREG converter switches to
operating state o13.0
Note:
A software update can be started only from the
PMU panel and not
via an OP1S or the
DriveMonitor system
5
Open a DOS window on the PC and enter
program call:
HEXLOAD 7001Axxx.H86 7001Bxxx.H86 COMx
Start the program by pressing Return
The software update is performed
automatically
Note:
HEXLOAD.EXE: Loading program
7001Axxx.H86 and 7001Bxxx.H86:
Data files which contain the SIMOREG software
xxx is the SW release
COMx: COM1 or COM2
6
When the software has been updated
successfully, the SIMOREG switches to
operating state o13.2 for approx. 1 s
The SIMOREG converter then switches to
operating state o12.9 in many cases
(depending on which SW version was
previously installed in the converter) for
approximately 15s.
Note:
The currently programmed addressed is displayed
on the PMU while the update is in progress
The current status of the update routine is
displayed on the PC
7
Check the checksum:
Comparison of the value of parameter r062.001 with the checksum in the Internet under menu item
"Info" (see the inside page of the cover sheet of the operation instructions).
8
Was the electronics supply disconnected
while Step 6 was in progress?
?
yes
9b
Acknowledge any fault message that may
appear on the SIMOREG device
n
o
10b
Restore default setting
(see Section 7.4)
11b
Start up the converter again
(see Section 7.5)
Note:
The parameter set stored in Step 1 above can
be loaded from a PC or programming device
by means of DriveMonitor.
12
End

Table of Contents

Related product manuals