EasyManua.ls Logo

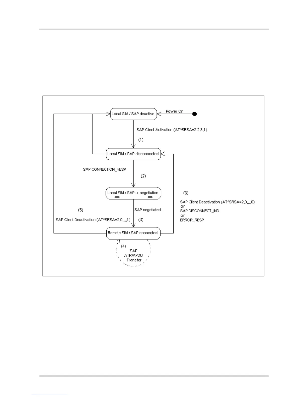
Siemens TC63 - Figure 15.3: SIM Usage States of SAP Client

Siemens TC63
501 pages
To Next Page IconTo Next Page
To Next Page IconTo Next Page
To Previous Page IconTo Previous Page
To Previous Page IconTo Previous Page
Loading...
TC63 AT Command Set
s
TC63_ATC_V00.490 Page 375 of 501 5/24/05
Confidential / Draft - Do not copy
SAP Client
The SIM Access Client is connected via a serial link to the SIM Access Server. The client accesses and con-
trols the SIM inside the Server via the serial link. Typical examples of a server are a simple SIM card holder
or a portable phone in the car environment. A typical example of a client is a car phone, which uses a SIM
card in the server for a connection to the cellular network. With the additional AT Commands it is possible to
switch the TC63 to use an external SIM instead of the physically attached (local) SIM during runtime.
After SAP server activation (see (1) in Figure 15.3, SIM usage states of SAP client) the ME waits for the SAP
message CONNECTION_REQ. The server will use its local SIM until the parameter negotiation has been
accomplished successfully.
Figure 15.3: SIM usage states of SAP client

Table of Contents

Related product manuals