EasyManua.ls Logo

Yamaha F100A - Page 274

Yamaha F100A
463 pages
Print Icon
To Next Page IconTo Next Page
To Next Page IconTo Next Page
To Previous Page IconTo Previous Page
To Previous Page IconTo Previous Page
Loading...
6-17
E
LOWR
LOWER CASE
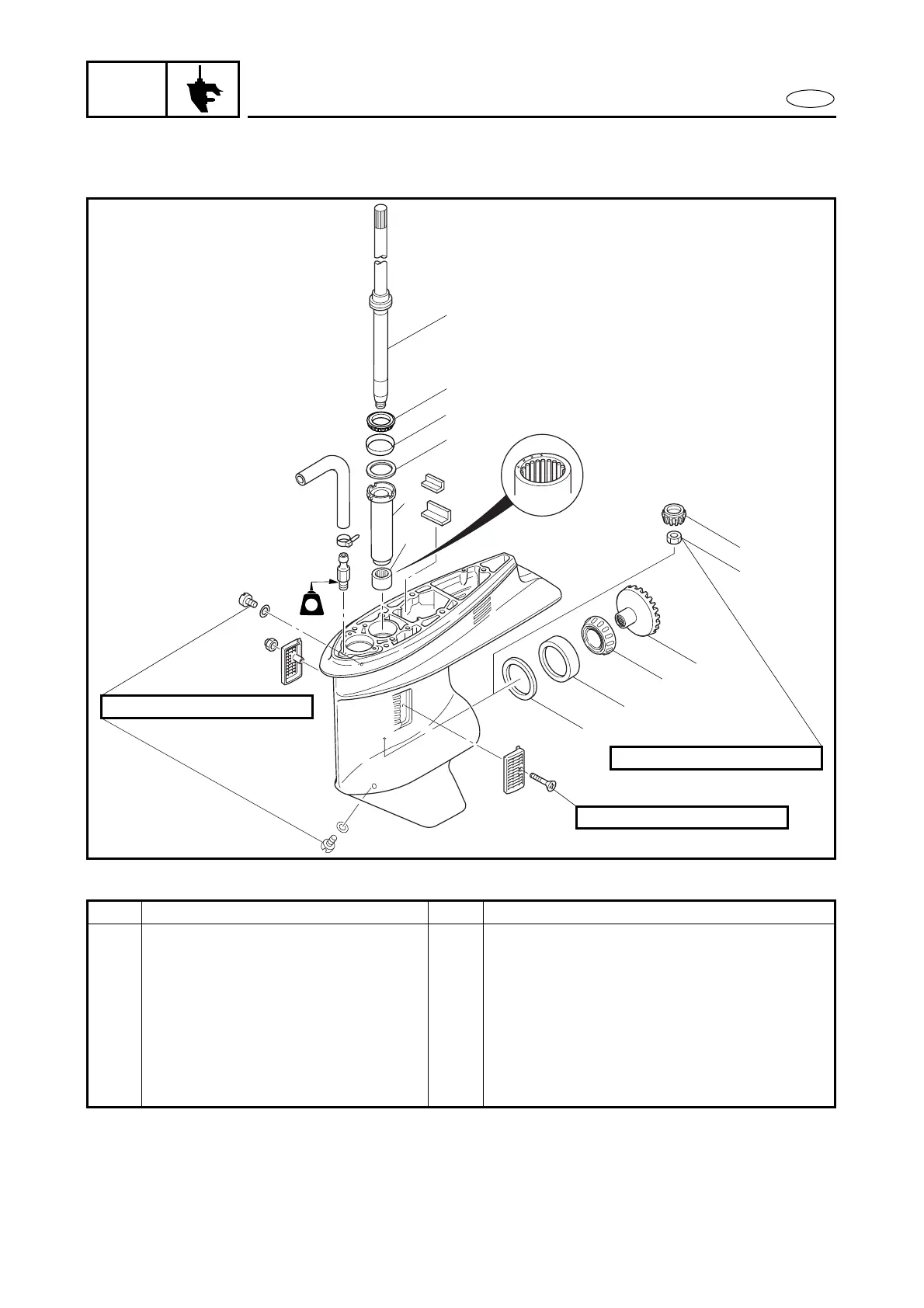
EXPLODED DIAGRAM
1
2
3
4
6
7
10
11
12
5 Nm (0.5 m
kg, 3.6 ft
Ib)
7 Nm (0.7 m
kg, 5.1 ft
Ib)
95 Nm (9.5 m
kg, 68 ft
Ib)
9
8
5
LT
LT
572
Step Procedure/Part name Q’ty Service points
7 Forward gear shim *
8 Bearing 1
9 Bearing race 1
10 Shim *
11 Drive shaft sleeve 1
12 Needle bearing 1
Reverse the disassembly steps for
installation.
*: As required.

Table of Contents

Other manuals for Yamaha F100A

Related product manuals