EasyManua.ls Logo

Yamaha Mio - Page 285

Yamaha Mio
305 pages
Print Icon
To Next Page IconTo Next Page
To Next Page IconTo Next Page
To Previous Page IconTo Previous Page
To Previous Page IconTo Previous Page
Loading...
7 - 31
+
ELEC
LIGHTING SYSTEM
EAS00783
EAS00784
EAS00776
YES
NO
EAS00787
4. Light switch
Check the light switch for continuity.
Refer to CHECKING THE SWITCHES.
Is the light switch OK?
YES
NO
The light switch is
faulty. Replace the
right handlebar
switch.
5. Dimmer switch
Check the dimmer switch for continuity.
Refer to CHECKING THE SWITCHES.
Is the dimmer switch OK?
YES
NO
The dimmer switch is
faulty. Replace the
left handlebar switch.
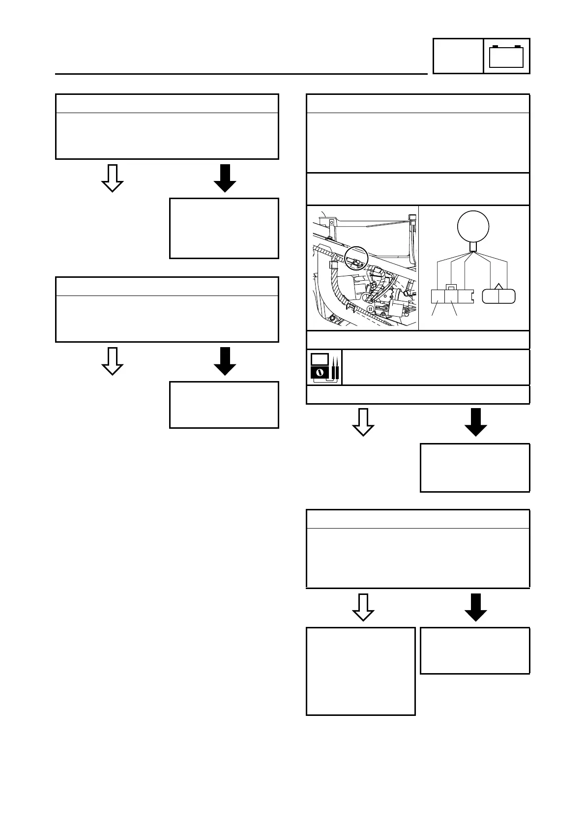
6. Lighting coil resistance
Disconnect the A.C. magneto coupler from
the wire harness.
Connect the pocket tester (
×
1) to the
lighting coils as shown.
Positive tester probe
yellow/red
1
Negative tester probe
black
2
Measure the lighting coil resistances.
Lighting coil resistance
0.24 ~ 0.36
at 20 °C (68 °F)
Is the lighting coil OK?
Replace the pickup
coil/stator coil
assembly.
7. Wiring
Check the entire lighting systems wiring.
Refer to CIRCUIT DIAGRAM.
Is the lighting systems wiring properly
connected and without defects?
YES
NO
Check the condition
of each of the lighting
systems circuits.
Refer to CHECK-
ING THE LIGHTING
SYSTEM.
Properly connect or
repair the lighting
systems wiring.
WB
Y/R
W/RW/L
1
2

Table of Contents

Related product manuals