EasyManua.ls Logo

Yamaha Mio - Page 291

Yamaha Mio
305 pages
Print Icon
To Next Page IconTo Next Page
To Next Page IconTo Next Page
To Previous Page IconTo Previous Page
To Previous Page IconTo Previous Page
Loading...
7 - 37
–+
ELEC
SIGNALING SYSTEM
EAS00798
2. The tail/brake light fails to come on.
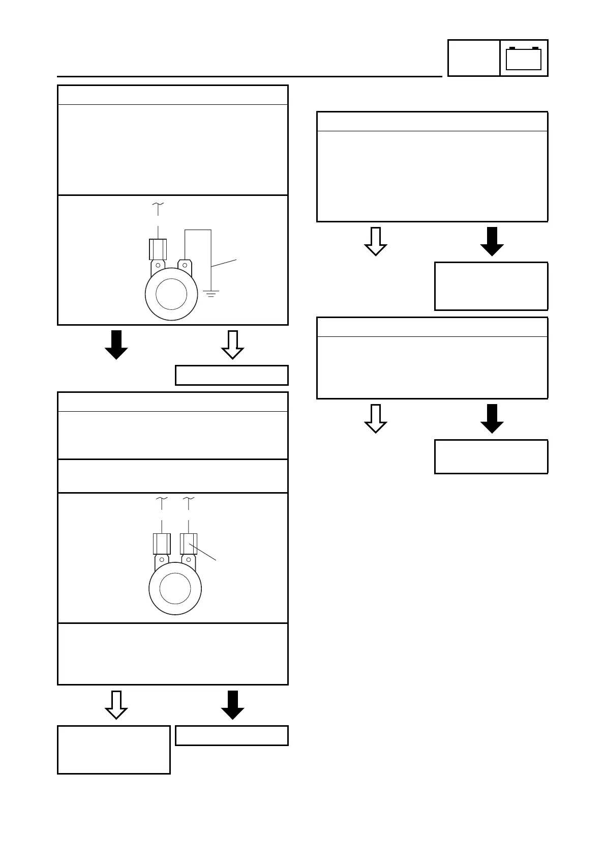
3. Horn
Disconnect the pink connector at the horn
terminal.
Connect a jumper lead
1
to the horn ter-
minal and ground the jumper lead.
Set the main switch to “ON”.
Does the horn sound?
NO
YES
The horn is OK.
4. Voltage
Connect the pocket tester (DC 20 V) to the
horn connector at the pink terminal as
shown.
Positive tester probe
pink
1
Negative tester probe
ground
Set the main switch to “ON”.
Measure the voltage (DC 12 V) of pink
1
at the horn terminal.
Is the voltage within specification?
YES
NO
Repair or replace the
pink lead or ground
lead.
Replace the horn.
Br
1
Br P
1
1. Tail/brake light bulb and socket
Check the tail/brake light bulb and socket
for continuity.
Refer to “CHECKING THE BULBS AND
BULB SOCKETS”.
Are the tail/brake light bulb and socket
OK?
YES
NO
Replace the tail/
brake light bulb,
socket or both.
2. Brake light switches
Check the brake light switches for continu-
ity.
Refer to “CHECKING THE SWITCHES”.
Is the brake light switch OK?
YES
NO
Replace the brake
light switch.

Table of Contents