EasyManua.ls Logo

YASKAWA MP2200 - Page 205

YASKAWA MP2200
529 pages
Print Icon
To Next Page IconTo Next Page
To Next Page IconTo Next Page
To Previous Page IconTo Previous Page
To Previous Page IconTo Previous Page
Loading...
4.4
SVA-01 Module Parameter Details
4-85
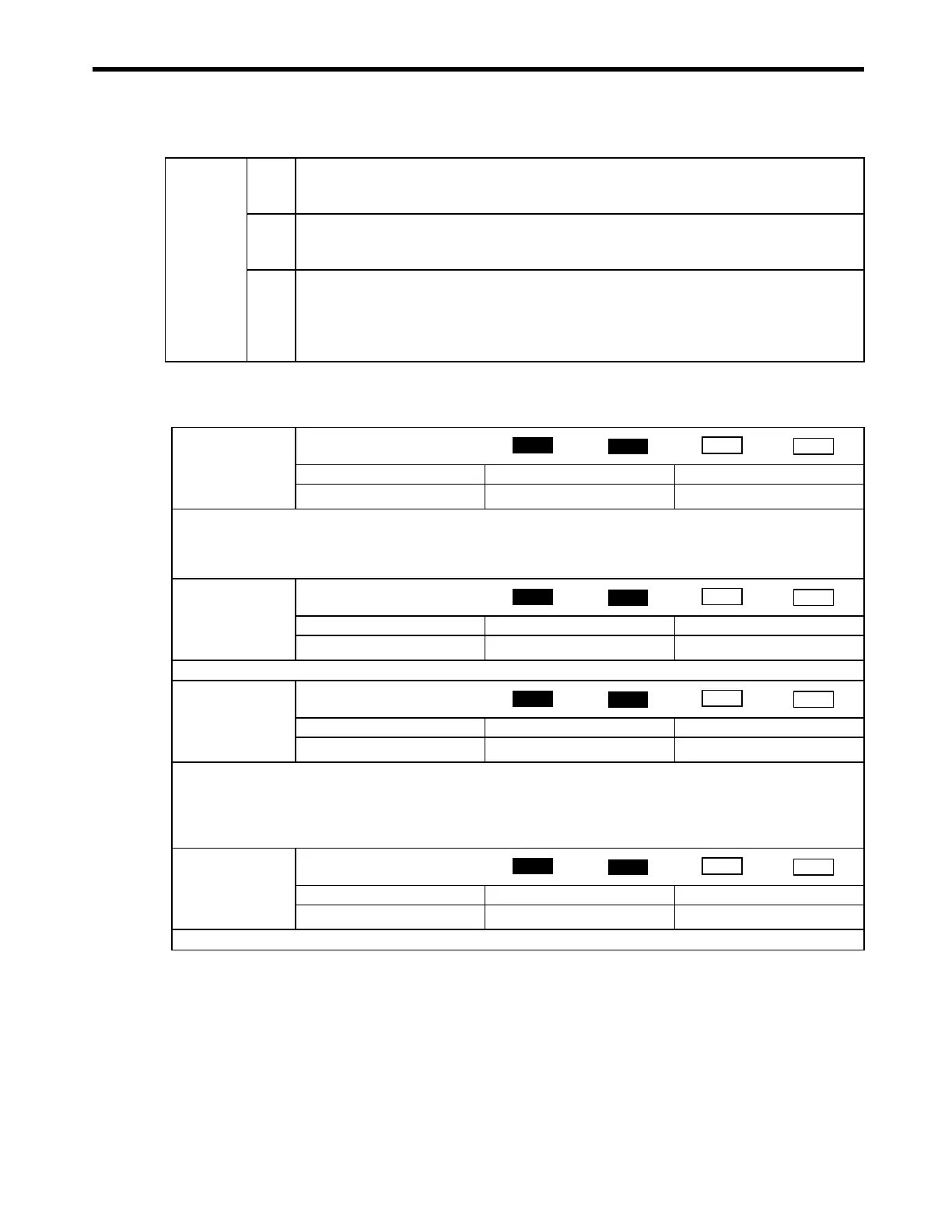
( 32 ) Absolute Infinite Length Axis Position Control Information
OW

5D
(cont’d)
Bit 3
General-purpose DO _3
0: OFF (default)
1: ON
Bit 4
General-purpose DO _4
0: OFF (default)
1: ON
Bit 5
General-purpose DO _5
This parameter can be used only in General-purpose I/O Mode.
Used by the system in normal Run Mode.
0: OFF (default)
1: ON
(cont’d)
OL

5E
Absolute Position at Power
OFF (Lower 2 words)
Setting Range Setting Unit Default Value
2
31
to 2
31
1
Pulse 0
This is the information for infinite length axis position control when an absolute encoder is used.
The encoder position is stored in 4 words. If the Infinite Length Axis Position Information LOAD bit is set to 1 in the Run
Commands (setting parameter OW

00, bit 7), the position information will be recalculated with the values set here and the
Modularized Position at Power OFF (OL

62 and OL

64).
OL

60
Absolute Position at Power
OFF (Upper 2 words)
Setting Range Setting Unit Default Value
2
31
to 2
31
1
Pulse 0
Same as above.
OL

62
Modularized Position at Power
OFF (Lower 2 words)
Setting Range Setting Unit Default Value
2
31
to 2
31
1
Pulse 0
This is the information for infinite length axis position control when an absolute encoder is used.
The axis position in pulses (managed internally in the controller) is stored in 4 words.
The encoder position is stored in 4 words. If the Infinite Length Axis Position Information LOAD bit is set to 1 in the Run
Commands (setting parameter OW

00, bit 7), the position information will be recalculated with the values set here and the
Absolute Position at Power OFF (OL

5E and OL

60).
OL

64
Modularized Position at Power
OFF (Upper 2 words)
Setting Range Setting Unit Default Value
2
31
to 2
31
1
Pulse 0
Same as above.
Position
Phase
Speed
Torque
Position
Phase
Speed
Torque
Position
Phase
Speed
Torque
Position
Phase
Speed
Torque
WWW.NNC.IR

Table of Contents

Related product manuals