EasyManua.ls Logo

Amada HFA-400 - Page 110

Default Icon
174 pages
Print Icon
To Next Page IconTo Next Page
To Next Page IconTo Next Page
To Previous Page IconTo Previous Page
To Previous Page IconTo Previous Page
Loading...
IV-32
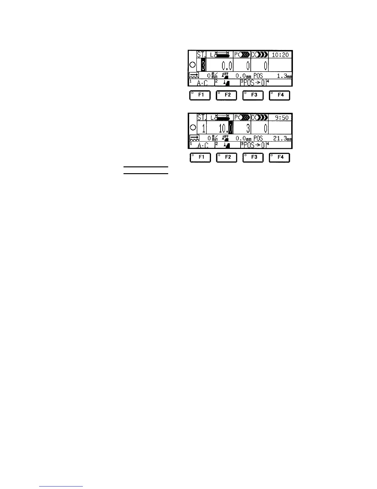
11 Once the quantity of
pieces to be cut is set
in the P field, the
cursor moves to the
ST. field. The station
number is increased
by 1 to “3”.
12 Press the numeric key
“1” and the ENT key
to call the station 1 in
the ST. field and
display the cutting
data of the station 1.
NOTE
O During its automatic operation, the machine starts cutting the work at
the station whose number is displayed in the ST. field.

Table of Contents

Related product manuals