EasyManua.ls Logo

Brother BAS-600 - Connecting the Solenoid Valves and the Air Lines

Brother BAS-600
118 pages
Print Icon
To Next Page IconTo Next Page
To Next Page IconTo Next Page
To Previous Page IconTo Previous Page
To Previous Page IconTo Previous Page
Loading...
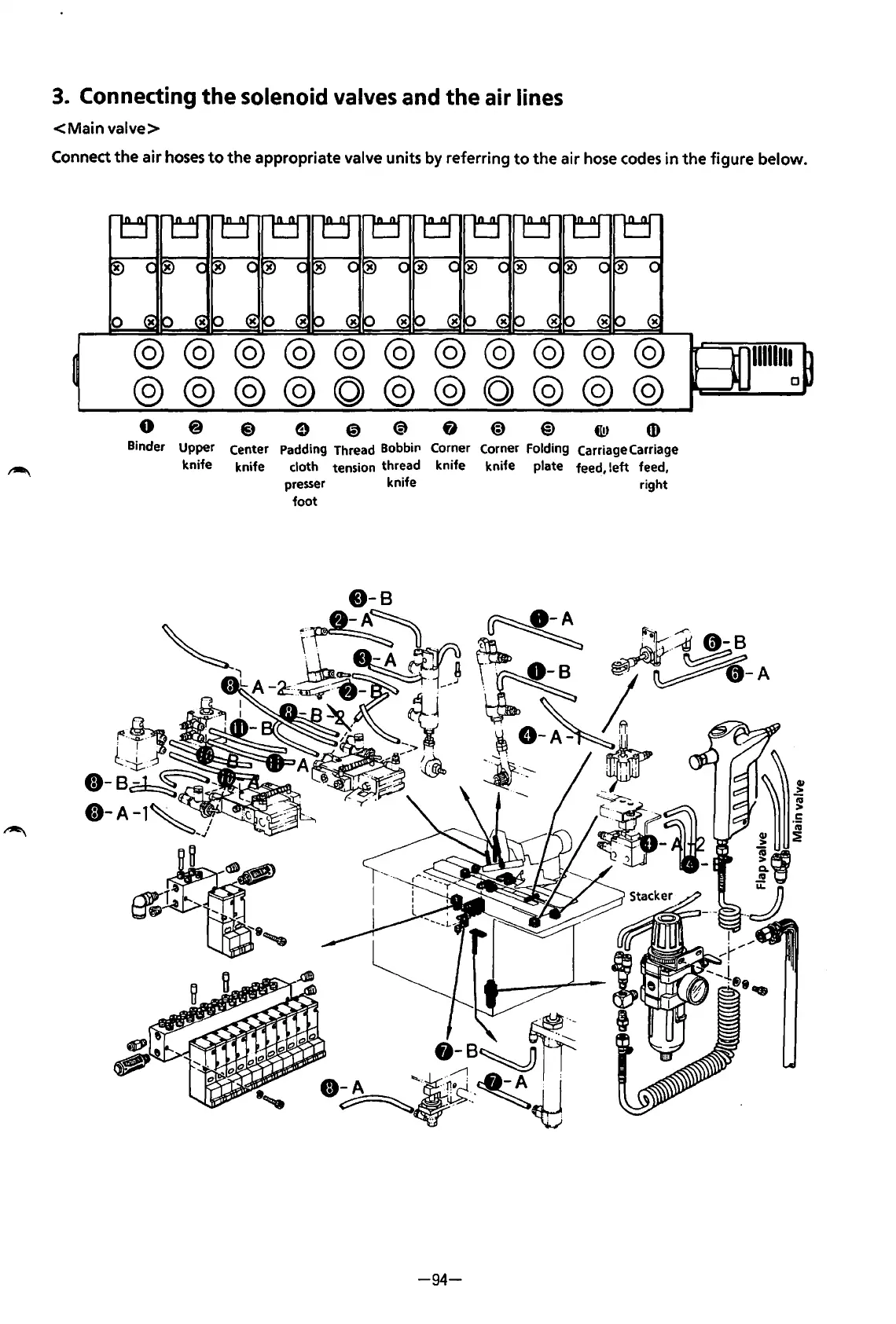
3.
Connecting the solenoid
valves
and
the
air
lines
<Main
valve>
Connect
the
air
hoses
to
the
appropriate valve units by referring
to
the air
hose
codes
in
the
figure below.
@@@@@@@@@@@
@@@@©@@©@@@
0 @
Binder Upper Center
Padding
Thread Bobbil" Corner
Corner
Folding Carriage Carriage
knife knife cloth tension thread knife knife plate feed,
left
feed,
presser
knife right
foot
-94-
From the library of: Superior Sewing Machine & Supply LLC

Table of Contents

Related product manuals