EasyManua.ls Logo

BUSKRO BK730-2 - Page 114

BUSKRO BK730-2
157 pages
Print Icon
To Next Page IconTo Next Page
To Next Page IconTo Next Page
To Previous Page IconTo Previous Page
To Previous Page IconTo Previous Page
Loading...
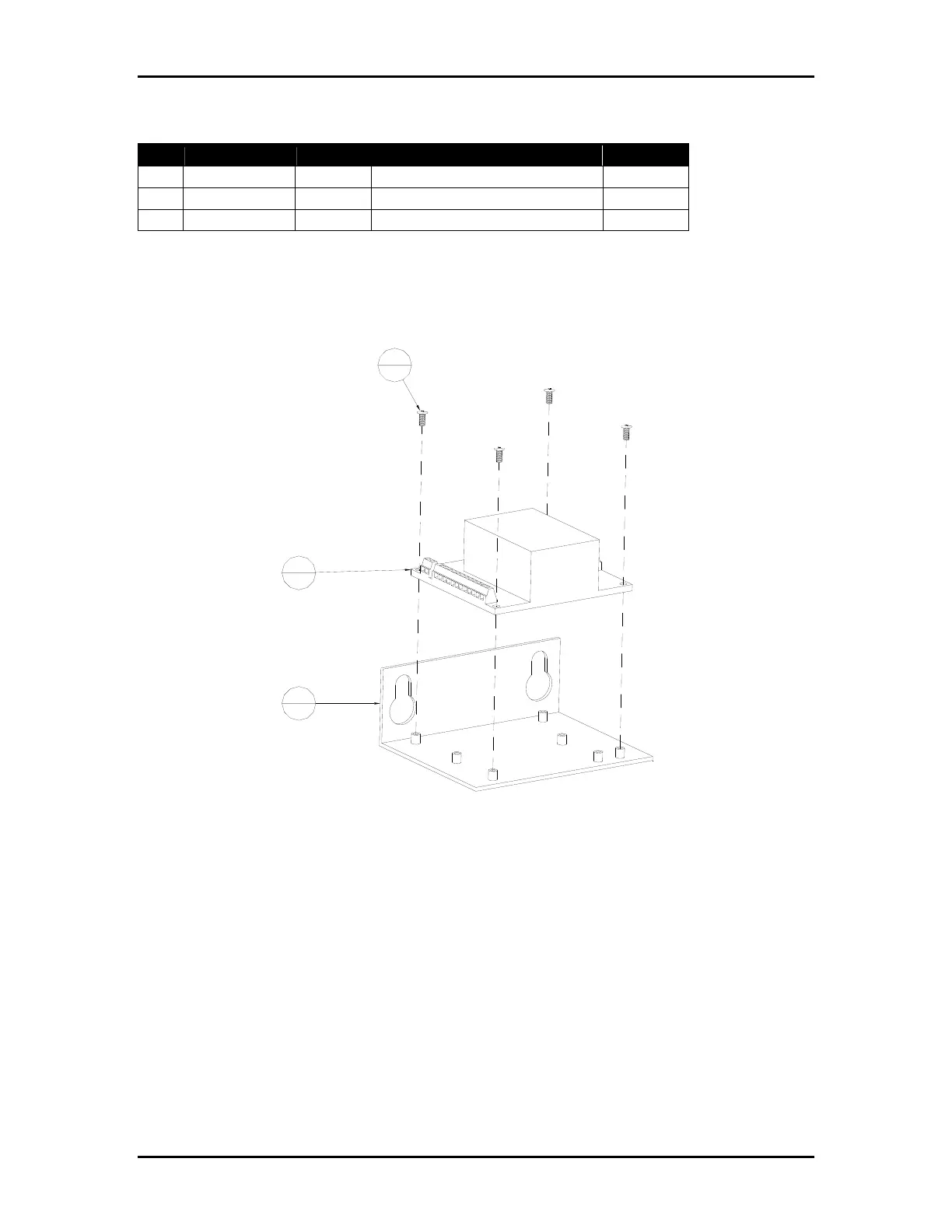
Appendix A Assembly Drawings Page A-35
Table A-30: 5-Phase Stepper Motor Driver Assembly (9103541A)
Item Part Number Quantity Description Reference
1 401310 4 Screw, PHMS, 4-40 UNC x 1/4"
2 9101123 1 Stepper Motor Driver, 5 Phase
3 9103541 1 Bracket, 5 Phase Motor Driver
Figure A-31: 5-Phase Stepper Motor Driver Assembly (9103541A)
1
4
2
1
3
1
Buskro Ltd. BK730-2 Tabber

Table of Contents