EasyManua.ls Logo

Circutor CVM-E3-MINI - 6�18�3� Connection Time Delay; 6�18�4� Hysteresis Value

Circutor CVM-E3-MINI
124 pages
Print Icon
To Next Page IconTo Next Page
To Next Page IconTo Next Page
To Previous Page IconTo Previous Page
To Previous Page IconTo Previous Page
Loading...
Note: Pay special attention when programming the Generation Power (displayed with negative values).
Example: If you wish to enter a generation power alarm with limits between 2 kW and 1 kW, program
the following as the maximum value : - 1 kW and the following as the minimum value : - 2 kW.
To validate the value, press the key for 3 seconds; the prog icon will stop flashing.
Press key to access the next programming step.
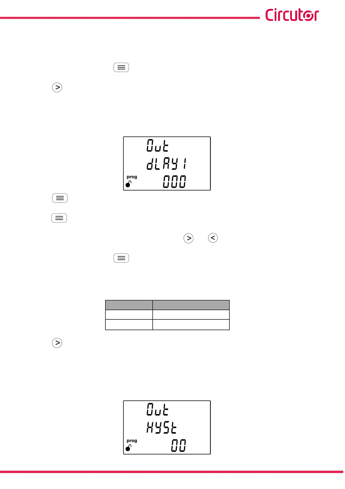
6.18.3. CONNECTION TIME DELAY
The alarm connection delay is programmed on this screen in seconds.
Press the key for 3 seconds to enter the edit mode. The prog icon will flash on the left of the
screen.
Press the key to modify the value of the flashing digit.
When the desired value is shown on the screen, use the and keys to move the edit cursor.
To validate the value, press the key for 3 seconds; the prog icon will stop flashing.
Configuration values
Table 41: Configuration values: Connection time delay
Connection time delay
Minimum value 0
Maximum value
999
Press key to access the next programming step.
6.18.4. HYSTERESIS VALUE
The hysteresis value, i.e., difference between the alarm connection and disconnection value, in %, is
programmed on this screen.
71
Instruction Manual
CVM-E3-MINI

Table of Contents

Related product manuals