EasyManua.ls Logo

GE Agile P153 - Trip Circuit Supervision

GE Agile P153
268 pages
Print Icon
To Next Page IconTo Next Page
To Next Page IconTo Next Page
To Previous Page IconTo Previous Page
To Previous Page IconTo Previous Page
Loading...
8 Monitoring & Control
P50 Agile P153
8-16
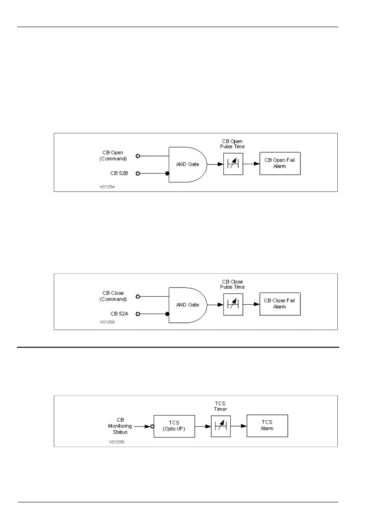
For CB OPEN command:
Once a CB Open command is received from local or remote the assigned relay contact for the CB trip
will operate. Simultaneously the relay starts monitoring the status of opto input 52B. If the status of
52B input is not high after the expiry of open pulse time (settable in the range of 0.1 to 50 sec), then
the relay output contact, which is assigned to CB Open fail, will operate. Simultaneously the relay will
generate an Open Fail alarm on the LCD display and the associated event will be stored in the Event
Record.
The operation of Open Fail is explained in following diagram:
Figure 8: CB open fail alarm
For CB CLOSE command:
Once a CB Close command is received from local or remote the assigned relay contact for the CB
close will operate. Simultaneously the relay starts monitoring the status of opto input 52A.If the status
of 52A input is not high after the expiry of close pulse time (settable in the range of 0.1 to 50 sec), then
the relay output contact, which is assigned to CB Close fail, will operate. Simultaneously the relay will
generate Close Fail alarm on the LCD display and the associated event will be stored in the Event
Record.
The operation of Close Fail is explained in following diagram:
Figure 9: CB close fail alarm
2.10 Trip Circuit Supervision
TCS scheme provides supervision of the trip coil with the breaker open or closed but does not provide
pre-closing supervision of the trip path. However, using two opto-inputs allows the IED to correctly
monitor the Trip Circuit. This can be done by assigning TCS Trig signal to the opto inputs, which are
connected to Circuit Breaker auxiliary contacts (52A and 52B).
Figure 10: Trip circuit supervision logic
The TCS scheme is also fully compatible with latched contacts as the supervision current will be
maintained through the 52B contact when the trip contact is closed.

Table of Contents

Related product manuals